lemon-mirror:
Home >> Pontiac >> 2000 >> Firefly (CANADA) L3-1.0L >> Repair and Diagnosis >> Powertrain Management >> Computers and Control Systems >> Throttle Position Sensor >> Adjustments >> Using A Scan Tool

Using A Scan Tool




1. Remove the air cleaner (if necessary).
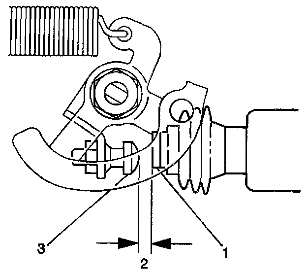
2. Insert a 3.5 mm (0.14 inch) feeler gage (2) between the throttle stop screw (1) and the throttle lever (3).




3. Inspect the ISO motor plunger. If the ISO motor plunger (1) is contacting the throttle lever screw (3), then the engine must be brought to operating temperature. There must be no contact (2) between the ISC motor plunger and the throttle lever screw.
4. Turn ON the ignition.
5. Observe the TP sensor voltage on the scan tool. The TP sensor voltage reading should be 0.98 to 1.02 volts.




6. If the TP sensor voltage IS NOT 0.98 to 1.02 volts, loosen the TP sensor screws (1) and turn the TP sensor until the voltage reading is 0.98 to 1.02 volts.

NOTE: Refer to Fastener Notice in Service Precautions.

7. Tighten the TP sensor screws (1).

Tighten
Tighten the TP sensor screws to 2.0 N.m (18 lb in).

8. Replace the TP sensor if a TP sensor voltage reading of 0.98 to 1.02 volts cannot be obtained.
9. Install the air cleaner.