lemon-mirror:
Home >> Pontiac >> 2000 >> Firebird V8-5.7L VIN G >> Repair and Diagnosis >> Diagrams >> Electrical Diagrams >> Powertrain Management >> Computers and Control Systems >> Body Control Module >> Body Control Module System Outputs

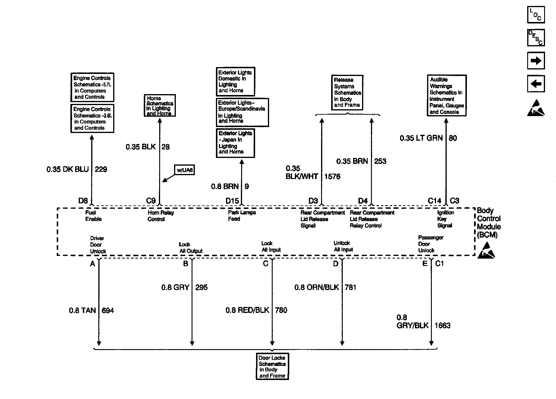
Body Control Module System Outputs

Body Control Module Schematics: Body Control Module System Outputs: