lemon-mirror:
Home >> Pontiac >> 2000 >> Firebird V8-5.7L VIN G >> Repair and Diagnosis >> Cruise Control >> Diagrams >> Electrical Diagrams >> Cruise Control Schematics >> Cruise Control Module and Powertrain Control Module

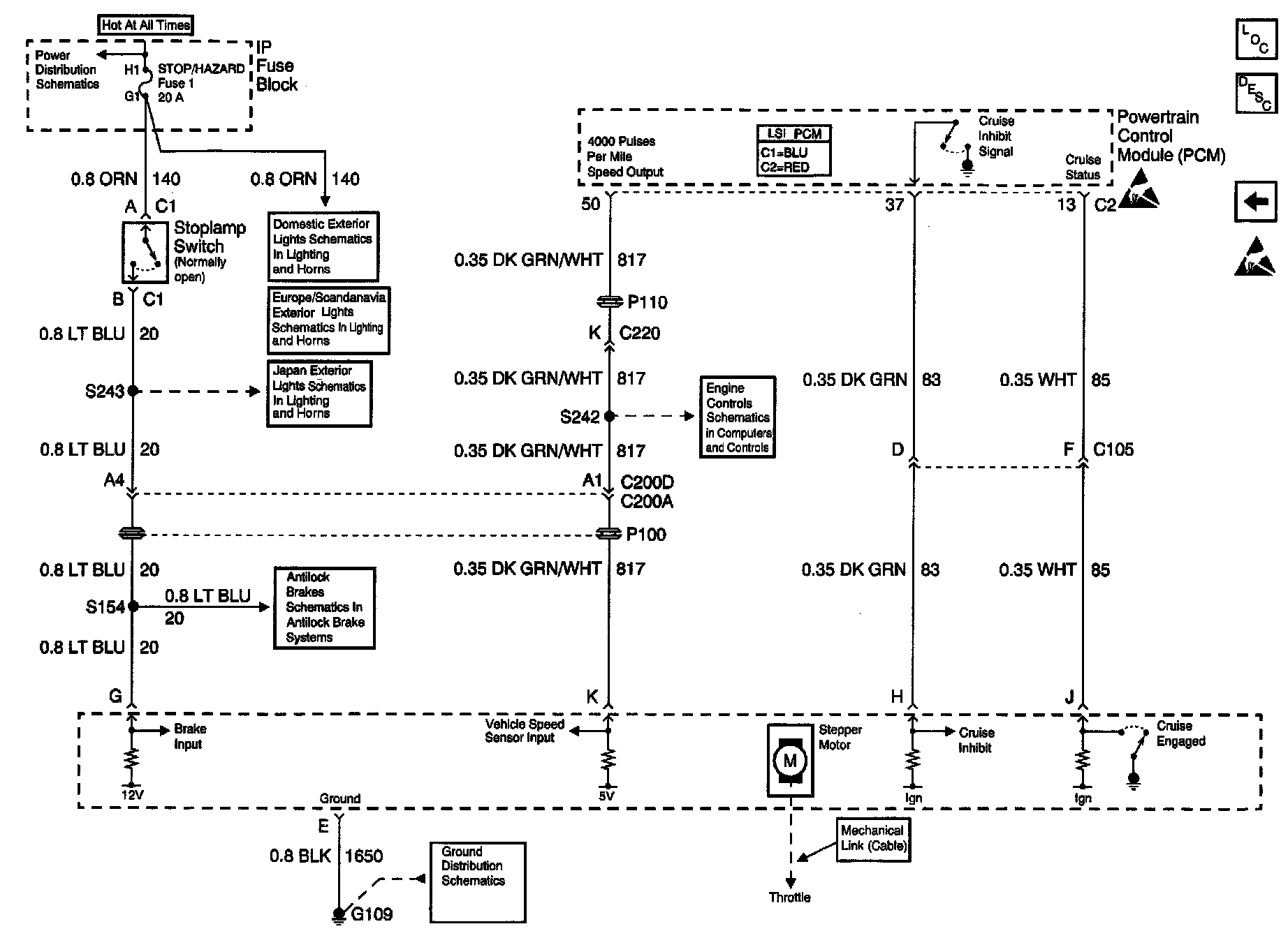
Cruise Control Module and Powertrain Control Module

Cruise Control Schematics: Cruise Control Module And Powertrain Control Module: