lemon-mirror:
Home >> Pontiac >> 1998 >> Firefly (CANADA) L3-1.0L >> Repair and Diagnosis >> Powertrain Management >> Computers and Control Systems >> Throttle Position Sensor >> Adjustments >> TP Sensor Adjustment Using a Scan Tool

TP Sensor Adjustment Using a Scan Tool




1. Remove the air cleaner (it necessary). Refer to Air Cleaner Assembly Replacement.
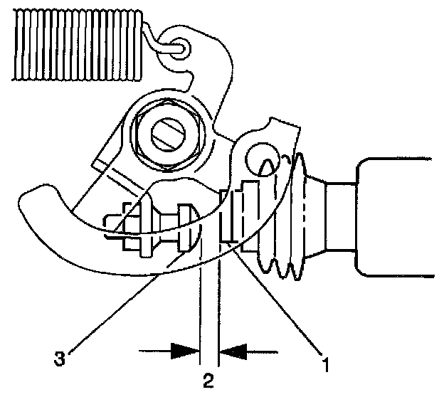
2. Insert a 3.5 mm (0.14 inch) feeler gage (2) between the throttle stop screw (1) and the throttle lever (3).




3. Inspect the ISC motor plunger. If the ISC motor plunger (1) is contacting the throttle lever screw (3). then the engine must be brought to operating temperature. There must be no contact (2) between the ISC motor plunger and the throttle lever screw.
4. Back probe the TP sensor signal circuit at the powertrain control module electrical connector to ground.
5. Turn ON the ignition.
6. Observe the TP sensor voltage on the scan tool. The TP sensor voltage reading should be 0.98 to 1.02 volts.




7. If the TP sensor voltage IS NOT 0.98 to 1.02 volts, loosen the TP sensor screws (1) and turn the TP sensor until the voltage reading is 0.98 to 1.02 volts.

Notice: Refer to Fastener Notice in Cautions and Notices.

8. Tighten the TP sensor screws (1).

Tighten
Tighten the TP sensor screws to 2.0 N.m (18 lb in).

9. Replace the TP sensor if a TP sensor voltage reading of 0.98 to 1.02 volts cannot be obtained. Refer to TP Sensor Replacement.
10. Install the air cleaner. Refer to Air Cleaner Assembly Replacement.