lemon-mirror:
Home >> Pontiac >> 1997 >> Sunfire L4-2.2L VIN 4 >> Repair and Diagnosis >> Diagrams >> Exploded Views >> Console

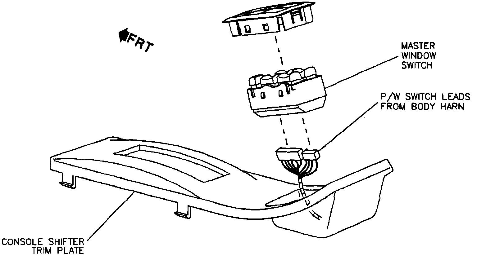
Console

LH Center Console: