lemon-mirror:
Home >> Pontiac >> 1997 >> Sunfire L4-2.2L VIN 4 >> Repair and Diagnosis >> Diagrams >> Exploded Views >> Axle Shaft Assembly

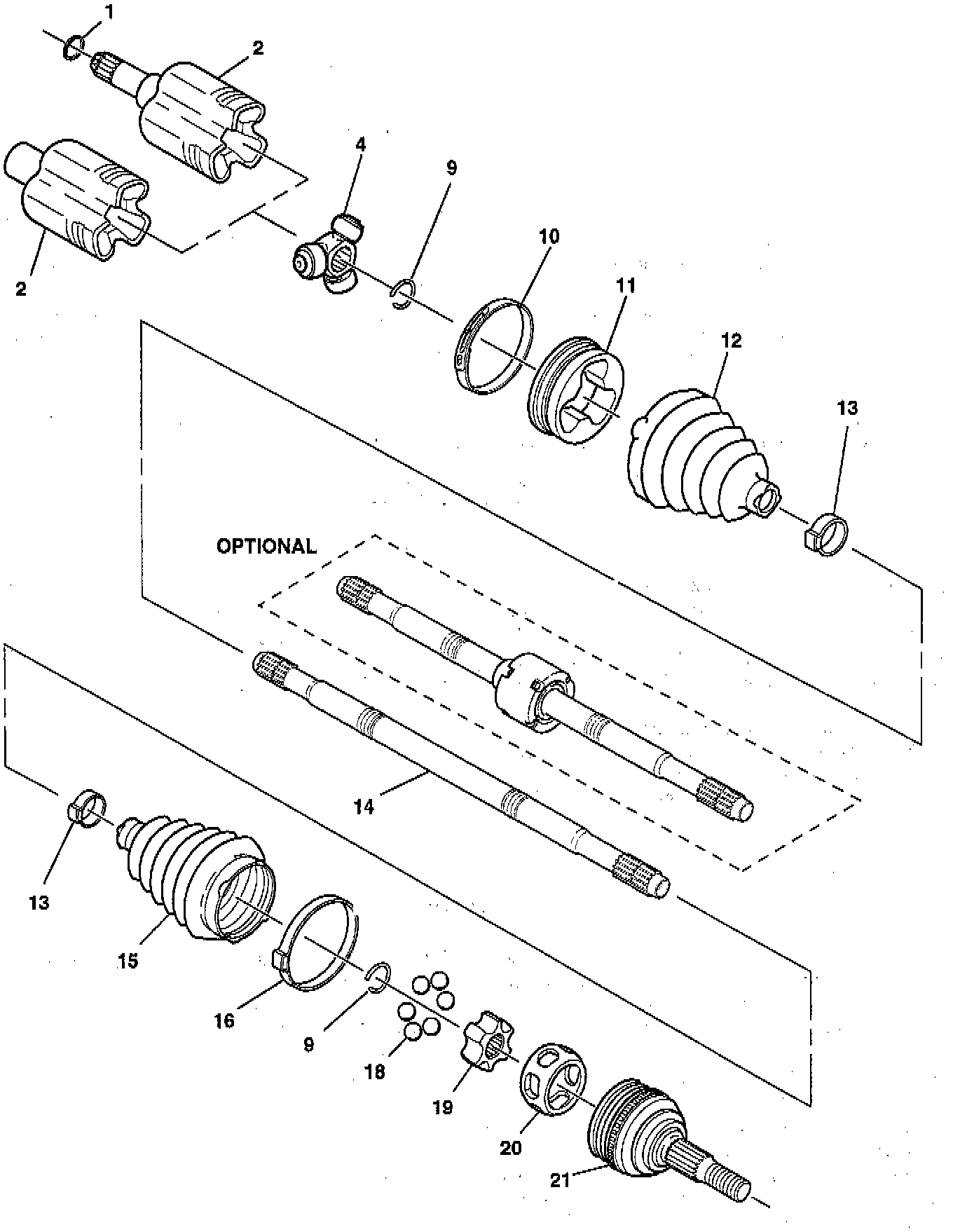
Axle Shaft Assembly

Part 1 Of 2:



Part 2 Of 2: