lemon-mirror:
Home >> Pontiac >> 1994 >> J2000/Sunbird L4-121 2.0L >> Repair and Diagnosis >> Diagrams >> Exploded Views >> Steering Column >> Standard Column

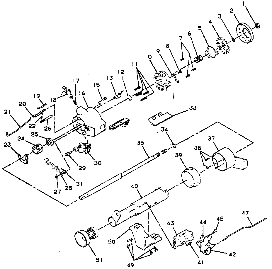
Standard Column

Exploded View Of Standard Steering Column:






1-NUT, HEXAGON LOCKING (M14x1.5)
2-COVER, SHAFT LOCK
3-RING, RETAINING
4-LOCK, STEERING SHAFT
5-CAM ASM, TURN SIG CANCELLING
6-SPRING, UPPER BEARING
7-SCREW, BIND HD CROSS RECESS
8-SCREW, RD WASH HD (M4.2x1.41)
9-ARM, ACTUATOR SWITCH
10-SWITCH ASM, TURN SIGNAL
11-SCREW, HEX WASHER HD TAP
12-WASHER, THRUST
13-SWITCH ASM, BUZZER
15-SCREW, LOCK RETAINING
16-HOUSING ASM, STRG COL
17-SECTOR, SWITCH ACTUATOR
18-LOCK CYLINDER SET, STRG COL
19-SPRING, RACK PRELOAD
20-RACK' SWITCH ACTUATOR
21-ROD, SWITCH ACTUATOR
22-WASHER, SPRING THRUST
23-RETAINER, UPPER BEARING
24-BUSHING, BEARING RETAINING
25-BEARING ASM
26-BOLT ASM, SPRING &
27-WASHER, WAVE
28-LEVER, KEY RELEASE
29-PIN, SWITCH ACTUATOR PIVOT
30-PIVOT ASM, SWITCH ACTUATOR
31-SPRING, KEY RELEASE
33-PROTECTOR, WIRING
34-RING, RETAINING
35-SHAFT ASM, STEERING
37-BOWL, FLOOR SHIFT LEVER
38-SCREW, BIND HD C/REC
39-SHROUD, SHIFT BOWL
40-JACKET ASM, STRG COL
41-STUD, DIMR & IGN 5W MOUNTING
42-SWITCH ASM, DIMMER
43-SWITCH ASM, IGNITION
44-NUT, HEX (#10-24)
45-SCREW, WASH HD (#10-24 x .25)
47-ROD, DIMMER SWITCH ACTUATOR
49-BOLT, FLANGED HEX HD
50-BRACKET ASM, STRG COL SUPT
51-BUSHING, STRG COL JACKET

SERVICE KITS
201-HSG ASM SERV SET, STRG COL-INCLUDES: 16,17,23,24,25
202-GREASE SERV KIT, (SYNTHETIC)
203-RACK SERV ASM, SW AC ROD-INCLUDES: 20,21
204-ROD SERVICE KIT, DIMMER SWITCH -INCLUDES 47
205-SECTOR SERV KIT, IGN 5W ACTR -INCLUDES 17