lemon-mirror:
Home >> Pontiac >> 1992 >> Firebird V8-350 5.7L >> Repair and Diagnosis >> Powertrain Management >> Computers and Control Systems >> Relays and Modules - Computers and Control Systems >> Engine Control Module >> Testing and Inspection

Engine Control Module: Testing and Inspection

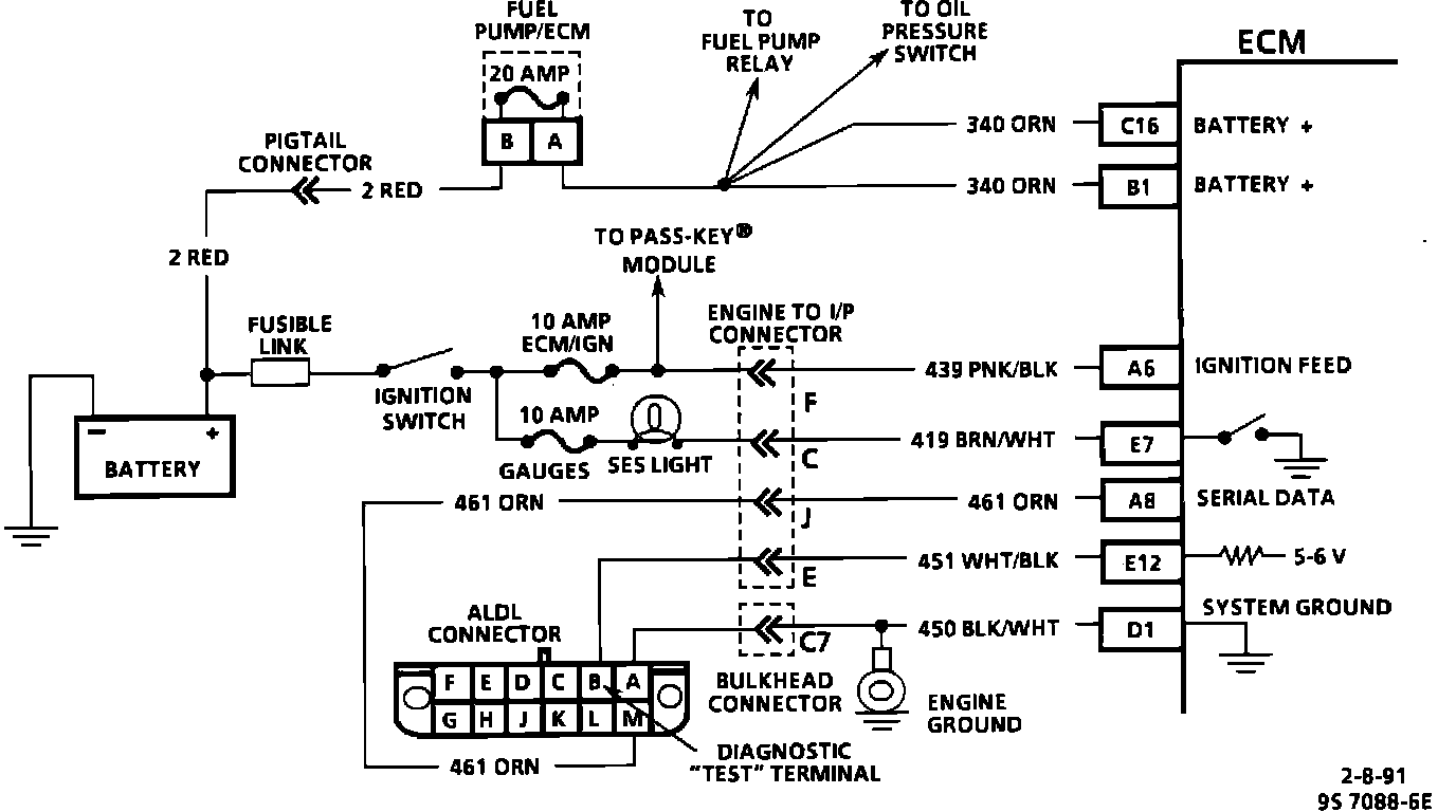
Diagnostic Circuit Check:




Service Engine Soon Light:




Typical Scan Data Value:






Circuit Description:

The diagnostic circuit check is an organized approach to identifying a problem created by an electronic engine control system malfunction. It must be the starting point for any driveability complaint diagnosis, because it directs the service technician to the next logical step in diagnosing the complaint. Understanding the chart and using it correctly will reduce diagnostic time and prevent the unnecessary replacement of good parts

Test Description: Number(s) below refer to circled number(s) on the diagnostic chart.

1. This step is a check for the proper operation of the "Service Engine Soon" light. The "SES" light should be "ON" steady.

2. No "SES" light at this point indicates that there is a problem with the "SES" light circuit or the ECM control of that circuit.

3. This test checks the ability of the ECM to control the "SES" light. With the diagnostic terminal grounded, the "SES" light should flash a Code 12 three times, followed by any trouble code stored in memory.

4. Most of the procedures use a Scan Tool to aid diagnosis, therefore, serial data must be available. If a PROM error is present, the ECM may have been able to flash Code 12/51, but not enable serial data.

5. Although the ECM is powered up, a "Cranks But Will Not Run" symptom could exist because of an ECM or system problem.

6. This step will isolate if the customer complaint is a "SES" light or a driveability problem with no "SES" light. An invalid code may be the result of a faulty "Scan" tool, PROM or ECM.

7. Comparison of actual control system data with the typical values is a quick check to determine if any parameter is not within limits. Keep in mind that a base engine problem (i.e. advanced cam timing) may substantially alter sensor values.

8. Installation of a "Scan" tool will provide a good ground path for the ECM and may hide a driveability complaint due to poor ECM grounds.

9. If the actual data is not within the typical values established, the C-Charts will provide a functional check of the suspect component or system.