lemon-mirror:
Home >> Pontiac >> 1982 >> Firebird L4-151 2.5L >> Repair and Diagnosis >> Powertrain Management >> Computers and Control Systems >> Transmission Position Sensor/Switch >> Testing and Inspection

Transmission Position Sensor/Switch: Testing and Inspection

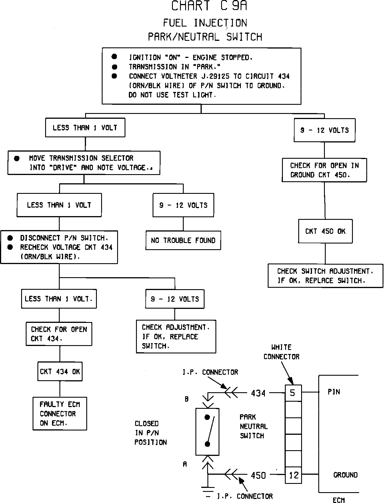
Fig. 36 Chart C-9A Park/Neutral Switch 1982-83: