lemon-mirror:
Home >> Mercury >> 2011 >> Mariner 2WD V6-3.0L >> Repair and Diagnosis >> Specifications >> Mechanical Specifications >> Engine >> Timing Cover

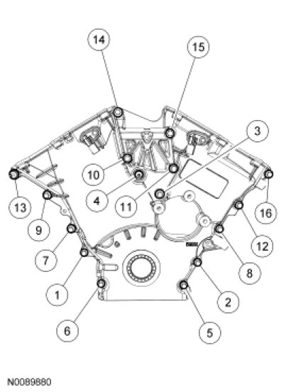
Timing Cover




Position the engine front cover and install the bolts.
Tighten in the sequence shown to 25 Nm (18 lb-ft).