lemon-mirror:
Home >> Mazda >> 2012 >> Mazdaspeed3 L4-2.3L Turbo >> Repair and Diagnosis >> Powertrain Management >> Computers and Control Systems >> Camshaft Position Sensor >> Service and Repair

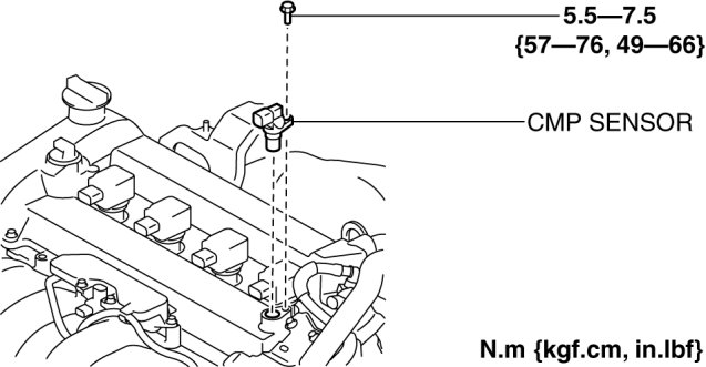
Camshaft Position Sensor: Service and Repair





CAMSHAFT POSITION (CMP) SENSOR REMOVAL/INSTALLATION [MZR 2.3 DISI Turbo]

CAUTION:
- When replacing the CMP sensor, make sure there is no foreign material on it such as metal shavings. If it is installed with foreign material, the sensor output signal will malfunction resulting from fluctuation in magnetic flux and cause a deterioration in engine control.

1. Remove the battery cover. Removal and Replacement

2. Disconnect the negative battery cable. Removal and Replacement

3. Remove the charge air cooler cover. Service and Repair

4. Disconnect the CMP sensor connector.

5. Remove the CMP sensor.






6. Install in the reverse order of removal.