lemon-mirror:
Home >> Mazda >> 2012 >> CX-7 FWD L4-2.5L >> Repair and Diagnosis >> Lighting and Horns >> Headlamp >> Headlamp Control Module >> Service and Repair >> Discharge Headlight Control Module Removal/Installation

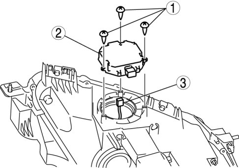
Discharge Headlight Control Module Removal/Installation





DISCHARGE HEADLIGHT CONTROL MODULE REMOVAL/INSTALLATION

WARNING:
- Incorrect servicing of the discharge headlights could result in electrical shock. Before servicing the discharge headlights, always refer to the discharge headlight service warnings. Service Precautions

1. Disconnect the negative battery cable.

2. Remove the front bumper. Removal and Replacement

3. Remove the headlight. Headlight Removal/Installation

4. Remove in the order indicated in the table.










5. Install in the reverse order of removal.