lemon-mirror:
Home >> Mazda >> 2012 >> 6 L4-2.5L >> Repair and Diagnosis >> Maintenance >> Fluids >> Coolant >> Testing and Inspection >> Engine Coolant Level Inspection

Engine Coolant Level Inspection





ENGINE COOLANT LEVEL INSPECTION [MZR 2.5]

WARNING:
- Never remove the cooling system cap or loosen the radiator drain plug while the engine is running, or when the engine and radiator are hot. Scalding engine coolant and steam may shoot out and cause serious injury. It may also damage the engine and cooling system.
- Turn off the engine and wait until it is cool. Even then, be very careful when removing the cap. Wrap a thick cloth around it and slowly turn it counterclockwise to the first stop. Step back while the pressure escapes.
- When you are sure all the pressure is gone, press down on the cap using the cloth, turn it, and remove it.

NOTE:
- If the "FL22" mark is shown on or near the cooling system cap, use Mazda Genuine FL22 engine coolant.





- FL22 type engine coolant is shipped as a diluted solution. Use the solution as is when replacing coolant.

1. Remove the cooling system cap.

2. Verify that the engine coolant is filled close to the top of the radiator filler neck.

- If the engine coolant level is low, add engine coolant.

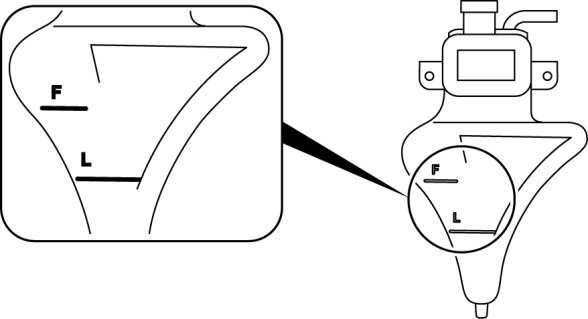
3. Verify that the engine coolant level in the coolant reserve tank is between the F and L marks.






- If the engine coolant level is below the L mark, add engine coolant.