lemon-mirror:
Home >> Mazda >> 2012 >> 3 L4-2.5L >> Repair and Diagnosis >> Powertrain Management >> Ignition System >> Crankshaft Position Sensor >> Service and Repair

Crankshaft Position Sensor: Service and Repair





CRANKSHAFT POSITION (CKP) SENSOR REMOVAL/INSTALLATION [MZR 2.0, MZR 2.5]

Removal

CAUTION:
- When foreign material such as an iron chip is on the CKP sensor, it can cause abnormal output from the sensor because of flux turbulence and adversely affect the engine control. Be sure there is no foreign material on the CKP sensor when replacing.
- Do not assemble the CKP sensor or change the installation position using any method other than the following. Otherwise, it could negatively affect engine controls, such as the ignition timing and fuel injection.

1. Remove the battery cover. Removal and Replacement

2. Disconnect the negative battery cable. Removal and Replacement

3. Perform the following procedure for easier access.
a. Remove the aerodynamic under cover No.2. Aerodynamic Under Cover No. 2 Removal/Installation

b. Remove the front splash shield (RH). Splash Shield Removal/Installation

4. Disconnect the CKP sensor connector.

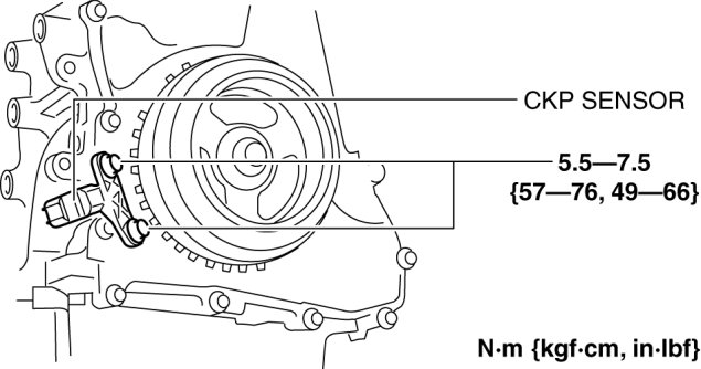
5. Remove the CKP sensor.






Installation

CAUTION:
- When foreign material such as an iron chip is on the CKP sensor, it can cause abnormal output from the sensor because of flux turbulence and adversely affect the engine control. Be sure there is no foreign material on the CKP sensor when replacing.
- Do not assemble the CKP sensor or change the installation position using any method other than the following. Otherwise, it could negatively affect engine controls, such as the ignition timing and fuel injection.

1. Perform the following procedure so that cylinder No.1 is at TDC.
a. Remove the wheel and tire (front right side).

b. Disconnect the drive shaft (RH) from joint shaft, set the drive shaft (RH) out of the way. (MTX) Drive Shaft Removal/Installation

c. Remove the cylinder block lower blind plug and install the SST.






d. Rotate the crankshaft pulley clockwise until the crank weight contacts the SST so that cylinder No.1 is at TDC.

2. Fit the center of the CKP sensor with the fifth tooth (counting counterclockwise from the empty space A as shown in the figure) of the pulse wheel.






CAUTION:
- If the line is not accurately drawn, ignition timing, fuel injection and other engine control systems will be adversely effected. Draw the straight line carefully using a straight edge.

3. Align the center line of the CKP sensor and the line drawn in Step 2, then install the sensor.

4. Install the CKP sensor fitting bolts.






5. Remove the SST then install the cylinder block lower blind plug.






6. Install the drive shaft (RH). (MTX) Drive Shaft Removal/Installation

7. Install the wheel and tire (front right side).