lemon-mirror:
Home >> Mazda >> 2011 >> Tribute 2WD L4-2.5L >> Repair and Diagnosis >> Windows and Glass >> Windows >> Power Window Switch >> Testing and Inspection >> Window Control Switch - Driver Side

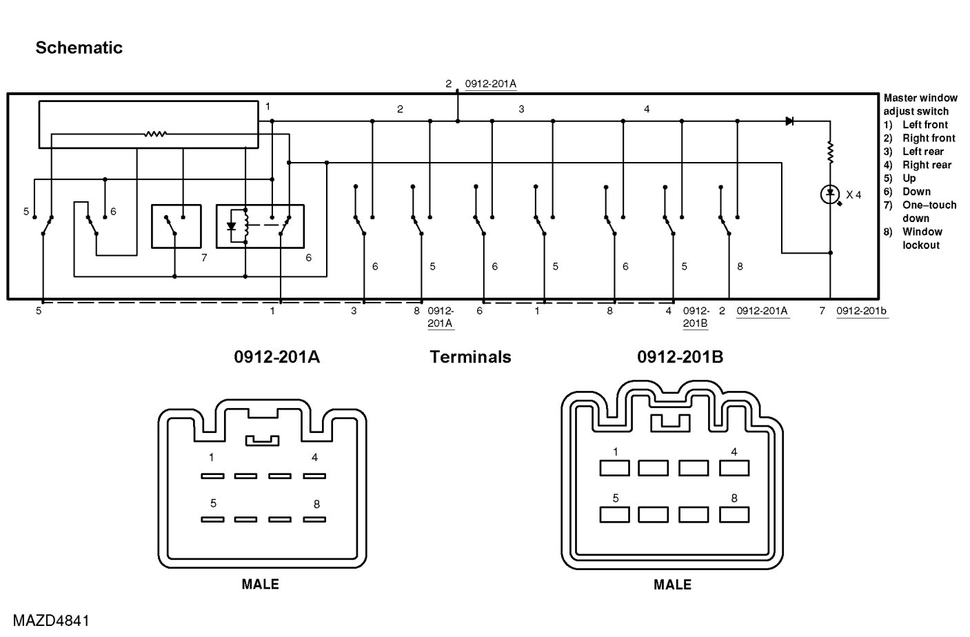
Window Control Switch - Driver Side




COMPONENT TEST - WINDOW CONTROL SWITCH - DRIVER SIDE

1. Remove the window control switch. See Service and Repair.

2. Inspect for continuity between the window control switch terminals using a self-powered test light or an ohmmeter.