lemon-mirror:
Home >> Mazda >> 2011 >> CX-7 FWD L4-2.5L >> Repair and Diagnosis >> Transmission and Drivetrain >> Automatic Transmission/Transaxle >> Control Module >> Service and Repair

Control Module: Service and Repair




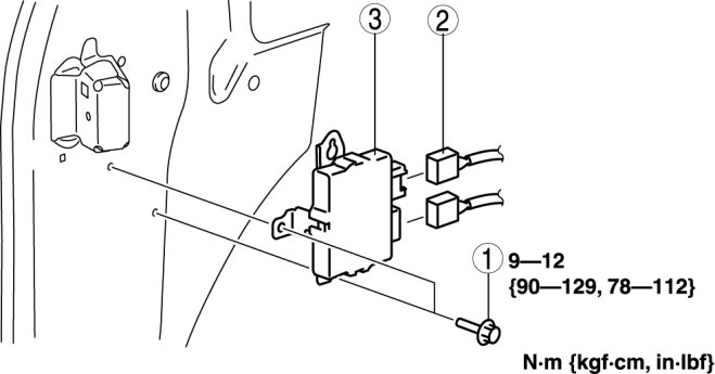
TCM REMOVAL/INSTALLATION [FS5A-EL]

1. Disconnect the negative battery cable.

2. Remove the dashboard under cover (LH). Dashboard Under Cover Removal/Installation

3. Remove the front scuff plate (LH). Front Scuff Plate Removal/Installation

4. Remove the front side trim (LH). Front Side Trim Removal/Installation

5. Remove in the order indicated in the table.










6. Install in the reverse order of removal.

TCM Removal Note

1. Remove the TCM in the direction of the arrow shown in the figure.