lemon-mirror:
Home >> Mazda >> 2011 >> CX-7 FWD L4-2.5L >> Repair and Diagnosis >> Heating and Air Conditioning >> Solar Sensor >> Service and Repair

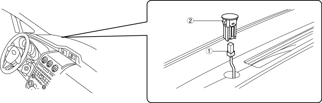
Solar Sensor: Service and Repair




SOLAR RADIATION SENSOR REMOVAL/INSTALLATION [FULL-AUTO AIR CONDITIONER]

1. Disconnect the negative battery cable.

2. Remove the dashboard under cover (driver's side).

3. Press out the solar radiation sensor with its connector from under the instrument panel.

4. Remove in the order indicated in the table.

5. Install in the reverse order of removal.