lemon-mirror:
Home >> Mazda >> 2010 >> Tribute 2WD V6-3.0L >> Repair and Diagnosis >> Powertrain Management >> Computers and Control Systems >> Knock Sensor >> Service and Repair

Knock Sensor: Service and Repair



-
KNOCK SENSOR (KS) REMOVAL/INSTALLATION - 3.0L

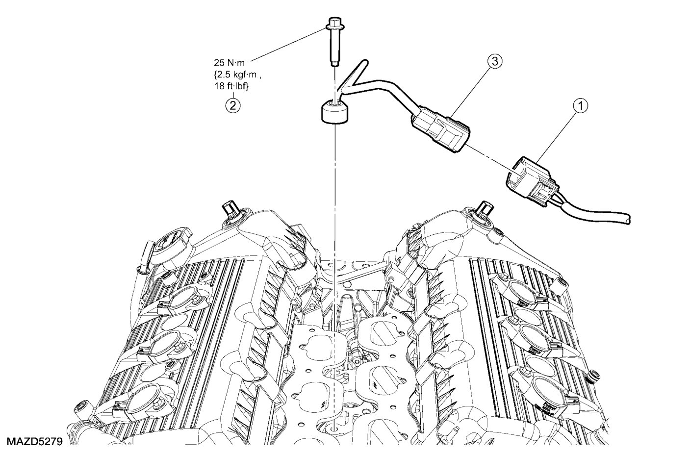
Cylinder Head-Mounted Knock Sensor (KS)










Engine Block-Mounted Knock Sensor (KS)










Removal

Cylinder head-mounted knock sensor (KS)

1. Disconnect the Knock Sensor (KS) electrical connector.

2. Remove the bolt and the KS.

Engine block-mounted KS

1. Remove the lower intake manifold. See - Lower Intake Manifold Removal/Installation.

2. Disconnect the KS electrical connector.

3. Remove the bolt and the KS.

Installation

Engine block-mounted KS

1. Install the KS and the bolt.

- Tighten to 25 Nm {2.5 kgf-m, 18 ft-lbf}.

2. Connect the KS electrical connector.

3. Install the lower intake manifold. See - Lower Intake Manifold Removal/Installation.

Cylinder head-mounted KS

1. Install the KS and the bolt.

- Tighten to 25 Nm {2.5 kgf-m, 18 ft-lbf}.

2. Connect the KS electrical connector.