lemon-mirror:
Home >> Mazda >> 2010 >> Tribute 2WD L4-2.5L >> Repair and Diagnosis >> Powertrain Management >> Computers and Control Systems >> Data Link Connector >> Testing and Inspection

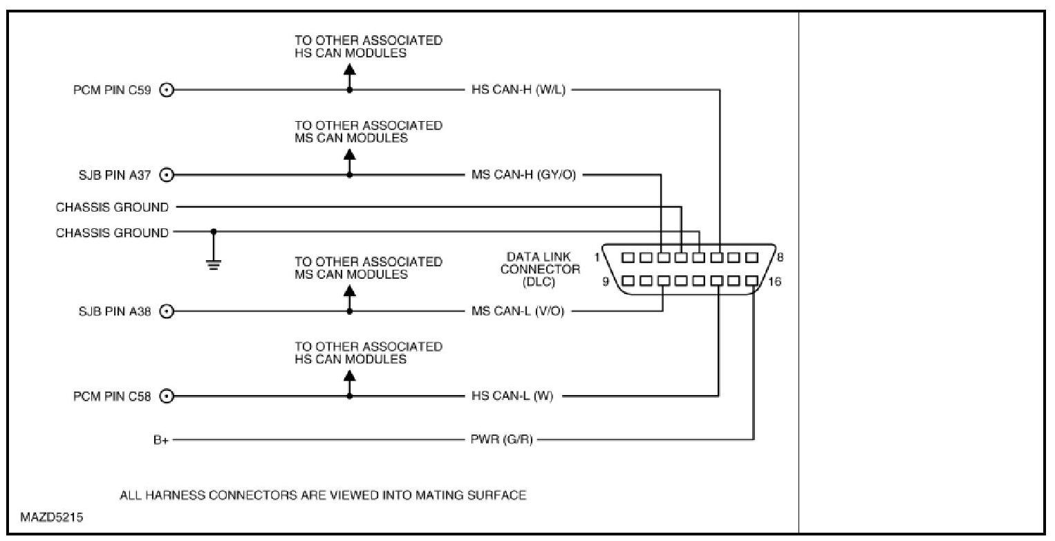
Data Link Connector: Testing and Inspection




DATA LINK CONNECTOR (DLC) MALFUNCTION

Detection Condition/Possible Causes:









Step 1-Step 4: