lemon-mirror:
Home >> Mazda >> 2010 >> MX-5 Miata L4-2.0L >> Repair and Diagnosis >> Body and Frame >> Locks >> Keyless Entry >> Keyless Entry Module >> Service and Repair >> Keyless Control Module Removal/Installation

Keyless Control Module Removal/Installation




KEYLESS CONTROL MODULE REMOVAL/INSTALLATION

NOTE:
- If the keyless control module is replaced, always perform the following procedure.

Without immobilizer system
- Keyless control module configuration Keyless Control Module Configuration
- Advanced key programming Advanced Key ID Code Registration
- Steering lock unit programming Steering Lock Unit ID Code Registration

With immobilizer system
- Keyless control module configuration Keyless Control Module Configuration
- Advanced key programming Advanced Key ID Code Registration
- Steering lock unit programming Steering Lock Unit ID Code Registration
- Immobilizer system resetting (with immobilizer system) Advanced Keyless Entry and Start System

1. Disconnect the negative battery cable. Removal and Replacement

2. Remove the side panel. Side Panel Removal/Installation

3. Remove the bolt and nut.






4. While inclining the keyless control module along the body panel in the direction indicated by the arrow, disengage the bracket tab from the hole in the body panel.

5. Disconnect the keyless control module connector.

6. Remove the keyless control module.

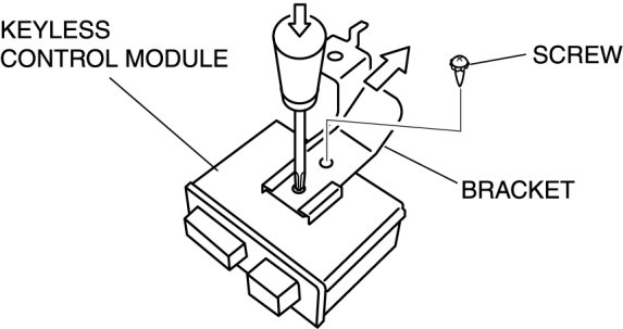
7. Remove the screw, then remove the bracket.






NOTE:
- The screw which fixes the keyless control module and bracket is for a body ground connection. Be sure to secure the screw when installing.

8. Install in the reverse order of removal.