lemon-mirror:
Home >> Mazda >> 2010 >> 5 L4-2.3L >> Repair and Diagnosis >> Specifications >> Mechanical Specifications >> Engine >> Cylinder Head Assembly >> System Specifications

System Specifications

Cylinder Head

Cylinder Head Surface Variation





^ Measure the cylinder head for distortion in six directions as shown in the figure.
^ If it exceeds the maximum specification, replace the cylinder head.
^ Cylinder head gasket contact surface distortion (Maximum) 0.10 mm (0.004 in)
^ Measure the manifold contact surface distortion as shown in the figure.
^ If it exceeds the maximum specification, grind the surface or replace the cylinder head.
Manifold contact surfaces distortion (Maximum) 0.10 mm (0.004 in)
Manifold contact surfaces distortion (Maximum grinding) 0.15 mm (0.006 in)

Cylinder Head Bolt Re-usability





Cylinder Head Bolt Length L

1. Measure the length of each bolt.
^ If it exceeds the specification, replace the bolt.
Bolt length (mm (in))

Cylinder head bolt (With washer)
Standard: 149.2-149.8 (5.87-5.90)
Maximum: 150.5 (5.91)
Cylinder head bolt (Without washer)
Standard: 145.2-145.8 (5.72-5.74)
Maximum: 146.5 (5.77)

Cylinder Head Bolt Assembly





Tighten the cylinder head bolts in the order indicated in the figure in 5 steps using the SST (49 D032 316).
Tightening torque
(1) 3-11 N-m (30.6-112 kgf-cm, 26.6-97.3 In-lbf)
(2) 13-17 N-m (1.4-1.7 kgf-m, 9.6-12.5 ft-lbf)
(3) 43-47 N-m (4.4-4.7 kgf-m, 31.8-34.6 ft-lbf)
(4) 88°-92°
(5) 88°-92°



Camshaft Cap Bolt





Tighten the camshaft cap bolt in the order shown two steps.
Tightening torque
(1) 5.0-9.0 N-m (51.0-91.7 kgf-cm, 44.3-79.5 in-lbf)
(2) 14-17 N-m (1.43-1.73 kgf-m, 10.4-12.5 ft-lbf)

Camshaft Sprocket, Variable Valve Timing Actuator Assembly Note
1. Hold the camshaft using a suitable wrench on the cast hexagon as shown in the figure.





2. Tighten the camshaft sprocket lock bolt.
Tightening torque 69-75 N-m (7.1-7.6 kgf-m, 50.9-55.3 ft-lbf)

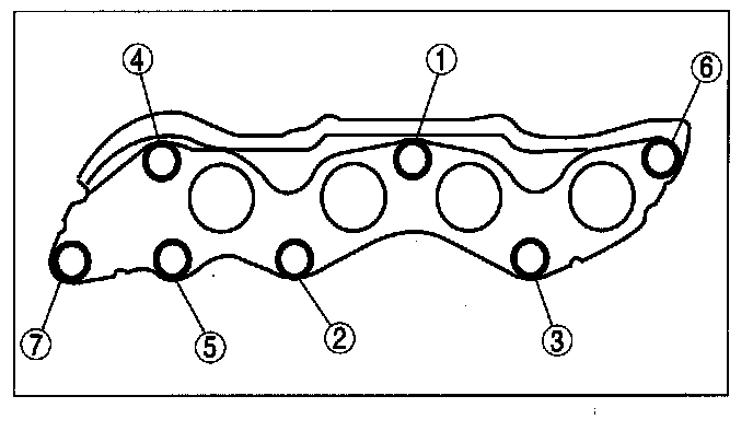
Exhaust Manifold
Tighten the exhaust manifold installation nuts in the order shown in the figure.





Tighten to 43-64 N-m (4.4-6.5 kgf-m, 32-47 ft-lbf)