lemon-mirror:
Home >> Mazda >> 2009 >> CX-9 FWD V6-3.7L >> Repair and Diagnosis >> Powertrain Management >> Emission Control Systems >> Service and Repair

Emission Control Systems: Service and Repair




QUICK RELEASE CONNECTOR (EMISSION SYSTEM) REMOVAL/INSTALLATION [MZI-3.7]

Quick Release Connector Type

CAUTION:
- There are five types of quick release connectors. Verify the type and location, and install/remove properly.






Type A Removal

1. Release the retainer shown in the figure.






2. Disconnect the quick release connector.

3. Cover the disconnected quick release connector and fuel pipe with vinyl sheeting or a similar material to prevent it from scratches or dirt.

Type B Removal

NOTE:
- If the quick release connector is removed, replace the retainer with a new one.

1. Push the retainer.






NOTE:
- The quick release connector can be removed by pushing the center of the retainer tabs.
- The retainer is attached to the pipe even after the connector is disconnected.

2. Pull the connector side and disconnect the quick release connector.

3. Cover the disconnected quick release connector and fuel pipe with vinyl sheeting or a similar material to prevent it from scratches or dirt.

Type C Removal

1. Move the retainer upward using a small flathead screwdriver or a similar tool.






2. Pull out the fuel hose straight from the fuel pipe and disconnect it.

3. Cover the disconnected quick release connector and fuel pipe with vinyl sheeting or a similar material to prevent it from scratches or dirt.

Type D Removal

CAUTION:
- The quick release connector may be damaged if the release tab is bent excessively. Do not expand the release tab over the stopper.

NOTE:
- The fuel hose can be removed by pushing it to the pipe side to release the lock.

1. Rotate the release tab on the quick release connector to the stopper position.






2. Pull out the fuel hose straight from the fuel pipe and disconnect it.






3. Cover the disconnected quick release connector and fuel pipe with vinyl sheeting or a similar material to prevent it from scratches or dirt.

Type E Removal

CAUTION:
- The quick release connector may be damaged if the release tab is bent excessively. Do not expand the release tab over the stopper.

NOTE:
- The fuel hose can be removed by pushing it to the pipe side to release the lock.

1. Release the retainer shown in the figure.






2. Disconnect the quick release connector.

3. Cover the disconnected quick release connector and fuel pipe with vinyl sheeting or a similar material to prevent it from scratches or dirt.

Type A Installation

1. Inspect the fuel hose and fuel pipe sealing surface for damage and deformation.

- If there is any malfunction, replace it with a new one.

2. Connect the quick release connector.






Type B Installation

CAUTION:
- Be sure to replace the retainer with a new one to prevent gas leakage.
- To prevent evaporative gas leakage, be sure not to damage the connecting part between the charcoal canister and pipe, and the locks between the quick release connector and retainer. If any of them are damaged, replace the charcoal canister or hose with a new one.

NOTE:
- If the quick release connector O-ring is damaged or has slipped, replace the fuel hose.
- A checker tab is integrated with the quick release connector for new fuel hoses and evaporative hoses. Remove the checker tab from the quick release connector after the connector is completely engaged with the fuel pipe.






1. Remove the retainer remaining on the charcoal canister pipe.

2. Install a new retainer to the quick release connector.

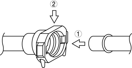
3. Reconnect the hose straight to the pipe until a click is heard.

4. Lightly pull and push the quick release connector a few times by hand, and then verify that it is connected securely.

Type C Installation

NOTE:
- If the quick release connector O-ring is damaged or has slipped, replace the fuel hose.

1. Inspect the fuel hose and fuel pipe sealing surface for damage and deformation.

- If there is any malfunction, replace it with a new one.

2. Install the quick release connector.






- Insert the fuel pipe straight to the end of the quick release connector.
- Push down the retainer using a finger.

- If the retainer cannot be pushed down, push the fuel pipe further to the quick release connector.

3. Lightly pull and push the quick release connector a few times by hand, and then verify that it is connected securely.

Type D Installation

NOTE:
- If the quick release connector O-ring is damaged or has slipped, replace the fuel hose.
- A checker tab is integrated with the quick release connector for new fuel hoses and evaporative hoses. Remove the checker tab from the quick release connector after the connector is completely engaged with the fuel pipe.






1. Inspect the fuel hose and fuel pipe sealing surface for damage and deformation.

- If there is any malfunction, replace it with a new one.

2. Apply a small amount of clean engine oil to the sealing surface of the fuel pipe.

3. Reconnect the fuel hose straight to the fuel pipe until a click is heard.
NOTE:
- If the quick release connector does not move at all, disconnect it, verify that the O-ring is not damaged or has not slipped, and then reconnect the quick release connector.

4. Lightly pull and push the quick release connector a few times by hand, and then verify that it can move2.0-3.0 mm {0.08-0.12 in} and is connected securely.

Type E Installation

1. Inspect the fuel hose and fuel pipe sealing surface for damage and deformation.

- If there is any malfunction, replace it with a new one.

2. Install the quick release connector.






- Insert the fuel pipe straight to the end of the quick release connector.
- Push down the retainer using a finger.

- If the retainer cannot be pushed down, push the fuel pipe further to the quick release connector.

3. Lightly pull and push the quick release connector a few times by hand, and then verify that it is connected securely.