lemon-mirror:
Home >> Mazda >> 2009 >> B4000 V6-4.0L >> Repair and Diagnosis >> Maintenance >> Timing Component Alignment Marks >> Service and Repair

Timing Component Alignment Marks: Service and Repair



-
CAMSHAFTS TIMING - 4.0L
Remove the camshaft roller followers. See - Service and Repair.
1.
NOTE:You must retime the LH and RH camshafts when either camshaft is disturbed.Turn the crankshaft clockwise to position the No. 1 cylinder at top dead center (TDC).






1. Remove the nut and position the A/C hose aside.






1.

CAUTION:Do not rotate the engine counterclockwise. Rotating the engine counterclockwise will result in incorrect timing of the engine.
NOTE:The crankshaft timing tool SST must be installed on the damper and should contact the engine block, this positions the engine at TDC.
Install the crankshaft timing tool SST.






1.
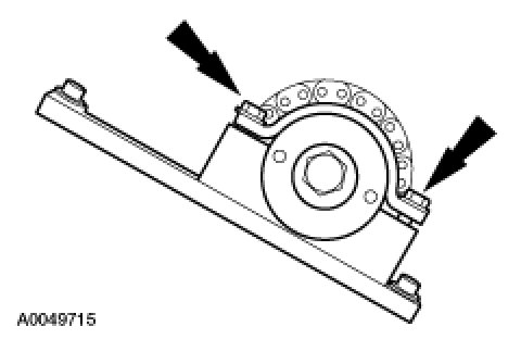
NOTE:Late build vehicles shown, early build vehicles similar.Install the camshaft sprocket holding tool SST and the adaptor SST to the RH cylinder head and tighten the 2 top clamp bolts.Tightening Torque10 Nm {1.0 kgf-m, 89 in-lbf}






1.

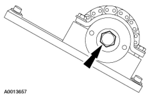
CAUTION:The RH camshaft sprocket bolt is a LH-threaded bolt.Using the torque wrench extension SST with the camshaft sprocket nut socket SST (303-565), loosen the RH camshaft sprocket bolt.






1.
NOTE:Late build vehicles shown, early build vehicles similar.Loosen the top 2 special tool clamp bolts.






1.
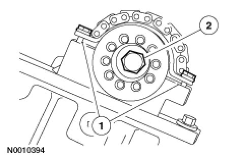
NOTE:The camshaft timing slots are off-center.Position the camshaft timing slots below the centerline of the camshaft to correctly fit the special tools and install the camshaft holding tool SST and adaptor SST on the front of the RH cylinder head.






1. Remove the RH lower splash shield.






1. Remove the RH hydraulic camshaft tensioner.






1. Install the timing chain tensioner SST.






1.

CAUTION:The RH camshaft sprocket bolt is a LH-threaded bolt.Tighten the bolts.
a. Tighten the special tool top 2 clamp bolts to 10 Nm (89 lb-in).

b. Using the torque wrench extension SST with the camshaft sprocket nut socket SST (303-565), tighten the camshaft bolt.Tightening Torque61 Nm {6.2 kgf-m, 45 ft-lbf}






1. Remove the timing chain tensioner SST.






1.
NOTE:Install a new O-ring seal on the tensioner and lubricate with clean engine oil.Install the RH hydraulic camshaft tensioner.Tightening Torque44 Nm {4.5 kgf-m, 32 ft-lbf}






1. Install the RH lower splash shield.

2. Remove the special tools from the RH cylinder head.






1. Install the camshaft sprocket holding tool SST and the adaptor SST on the front of the LH cylinder head and tighten the top 2 clamp bolts.Tightening Torque10 Nm {1.0kgf-m, 89 in-lbf}






1. Loosen the LH camshaft sprocket bolt.






1. Loosen the top 2 clamp bolts on the camshaft sprocket holding tool SST to allow the camshaft sprocket to rotate freely.






1.
NOTE:The camshaft timing slots are off-center.Position the camshaft timing slots below the centerline of the camshaft to correctly fit the special tools and install the camshaft holding tool SST and adaptor SST on the rear of the LH cylinder head.






1. Remove the LH hydraulic camshaft tensioner.






1. Install the timing chain tensioner SST.






1. Tighten the bolts.
a. Tighten the special tool top 2 clamp bolts.Tightening Torque10 Nm {1.0 kgf-m, 89 in-lbf}

b. Tighten the LH camshaft bolt.Tightening Torque85 Nm {8.7 kgf-m, 63 ft-lbf}






1. Remove the timing chain tensioner SST.






1.
NOTE:Install a new O-ring seal on the tensioner and lubricate with clean engine oil.Install the LH hydraulic camshaft tensioner.Tightening Torque44 Nm {4.5 kgf-m, 32 ft-lbf}

2. Remove the special tools from the LH cylinder head.






1. Remove the crankshaft timing tool SST.






1. Position the A/C hose and install the nut.Tightening Torque20 Nm {2.0 kgf-m, 15 ft-lbf}

2. Install the camshaft roller followers. See - Service and Repair.