lemon-mirror:
Home >> Mazda >> 2009 >> B2300 L4-2.3L >> Repair and Diagnosis >> Service and Repair >> Fundamental Procedures

Fundamental Procedures




FUNDAMENTAL PROCEDURES

Protection of the Vehicle

Always be sure to cover fenders, seats and floor areas before starting work.






Preparation of Tools and Measuring Equipment

Be sure that all necessary tools and measuring equipment are available before starting any work.






Special Tools

Use special tools when they are required.






Disconnection of the Negative Battery Cable

Before beginning any work, turn the ignition switch to LOCK, disconnect the negative battery cable and then wait for more than one minute to allow the backup supply of the air bag diagnostic monitor unit to deplete its stored power.
Disconnecting the battery cable will delete the memories of the clock, audio and DTCs, etc. Therefore, it is necessary to verify those memories before disconnecting the cable.

Removal of Parts

While correcting a problem, also try to determine its cause. Begin work only after first learning which parts and subassemblies must be removed and disassembled for replacement or repair. After removing the part, plug all holes and ports to prevent foreign material from entering.






Disassembly

If the disassembly procedure is complex requiring many parts to be disassembled, all parts should be disassembled in a way that will not affect their performance or external appearance and identified so reassembly can be performed easily and efficiently.






Inspection During Removal, Disassembly

When removed, each part should be carefully inspected for malfunction, deformation, damage and other problems.






Arrangement of Parts

All disassembled parts should be carefully arranged for reassembly.
Be sure to separate or otherwise identify the parts to be replaced from those that will be reused.






Cleaning of Parts

All parts to be reused should be carefully and thoroughly cleaned in the appropriate method.

WARNING:Using compressed air can cause dirt and other particles to fly out causing injury to the eyes. Wear protective eye wear whenever using compressed air.






Reassembly

Standard values, such as torques and certain adjustments, must be strictly observed in the reassembly of all parts.
If removed, these parts should be replaced with new ones:

- Oil seals
- Gaskets
- O-rings
- Lockwashers
- Cotter pins
- Nylon nuts





Depending on location:

- Sealant and gaskets, or both, should be applied to specified locations. When sealant is applied, parts should be installed before sealant hardens to prevent leaks.
- Oil should be applied to the moving components of parts.
- Specified oil or grease should be applied at the prescribed locations (such as oil seals) before reassembly.






Adjustments

Use suitable gauges and testers when making adjustments.






Rubber Parts and Tubing

Prevent gasoline or oil from getting on rubber parts or tubing.






Hose Clamps

When reinstalling, position the hose clamp in the original location on the hose and squeeze the clamp lightly with large pliers to ensure a good fit.






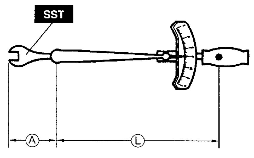
Torque Formulas

When using a torque wrench-SST combination, the written torque must be recalculated due to the extra length that the SSTadds to the torque wrench. Recalculate the torque by using the following formulas. Choose the formula that applies to you.





A: The length of the SST past the torque wrench drive.
L: The length of the torque wrench.






Vise

When using a vise, put protective plates in the jaws of the vise to prevent damage to parts.






Dynamometer

When test-running a vehicle on a dynamometer:

- Place a fan, preferably a vehicle-speed proportional type, in front of the vehicle.
- Connect an exhaust gas ventilation unit.
- Cool the exhaust pipes with a fan.
- Keep the area around the vehicle uncluttered.
- Watch the water temperature gauge.

NOTE:When the vehicle is on a chassis dynamometer and only the front or only the rear wheels rotate, the ABS warning light may illuminate. See to turnoff the warning light.