lemon-mirror:
Home >> Mazda >> 2009 >> 6 L4-2.5L >> Repair and Diagnosis >> Windows and Glass >> Windshield >> Service and Repair >> Windshield Installation

Windshield Installation




WINDSHIELD INSTALLATION

WARNING:
- Using a utility knife with bare hands can cause injury. Always wear gloves when using a utility knife.

CAUTION:
- If a door is opened or closed when all the window glass is closed, the resulting change in air pressure could cause the sealant to crack preventing the proper installation of the windshield. Keep the door glass opened until the windshield installation is completed.

- If the rain sensor is replaced with a new one, the reflection rate when the switch the ignition to on the first time is memorized as a condition that no rainfall is on the windshield. Therefore, remove water and dirt from the windshield before switch the ignition to on. Perform the rain sensor reinitial setting in the following cases: Testing and Inspection

- The windshield is replaced and the rain sensor is reused.

- The auto wiper system does not operate correctly after the windshield is installed.

1. Remove the sealant along the perimeter of the glass using a utility knife. (When reusing the glass)

2. Clean and degrease an approx. 50 mm {2.0 in} wide strip along the perimeter of the windshield.

3. Inspect the glass for cracks. If it is cracked, chamfer it using sandpaper.

4. Align the alignment marks made before removal and install the pin to the windshield referring to the figure. (Reusing glass, pin removed)






5. Install the windshield molding.






6. Apply glass primer on the glass as shown in the figure, then allow it to dry for approx. 30 min.

CAUTION:
- To prevent weakening of the primer adhesion, keep the bonding surface free of dirt, moisture, and grease. Do not touch the surface with your hand.

NOTE:
- Apply primer to the hollowed marks in the ceramic coating.






7. Cut away the old sealant using a utility knife so that 1-2 mm {0.04-0.07 in} thickness of sealant remains along the perimeter of the frame.






8. If the sealant has come off completely in any one place, apply some primer after degreasing, and allow it approx. 30 min to dry. Then apply 2 mm {0.08 in} thickness of new sealant.

CAUTION:
- To prevent weakening of the primer adhesion, keep the bonding surface free of dirt, moisture, and grease. Do not touch the surface with your hand.

9. Clean and degrease along the perimeter of the bonding area on the body.

10. Apply body primer on the body as shown in the figure, then allow it to dry for approx. 30 min.

CAUTION:
- To prevent weakening of the primer adhesion, keep the bonding surface free of dirt, moisture, and grease. Do not touch the surface with your hand.

NOTE:
- Apply primer to the hollowed marks in the ceramic coating.






11. Apply sealant to the area of the glass surface as shown in the figure.






12. Insert the positioning pins to the body and install the windshield.

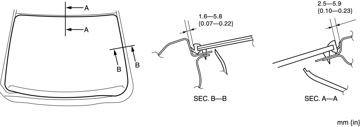
13. Verify that the clearance between the A-pillar and the roof is within the range shown in the figure, and press along the perimeter of the glass.






14. Install the headliner.

15. Install the following parts:
a. Assist handle Service and Repair

b. Sunvisor Service and Repair

c. A-pillar trim A-Pillar Trim Removal/Installation

d. Rear view mirror (Vehicles without auto-dimming mirror) Rearview Mirror Installation

e. Auto-dimming mirror (Vehicles with auto-dimming mirror) Auto-Dimming Mirror Installation

f. Rain sensor (Vehicles with auto light/wiper system) Service and Repair

g. Windshield wiper arm and blade Service and Repair

h. Cowl grille Cowl Grille Removal/Installation

16. Allow the sealant to harden completely. Sealant hardening time: 24 h