lemon-mirror:
Home >> Mazda >> 2009 >> 5 L4-2.3L >> Repair and Diagnosis >> Powertrain Management >> Computers and Control Systems >> Relays and Modules - Computers and Control Systems >> Engine Control Module >> Service and Repair

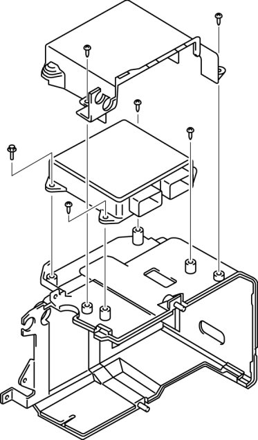
Engine Control Module: Service and Repair




PCM REMOVAL/INSTALLATION [L3]

1. When replacing the PCM, perform the following:

- PCM configuration Programming and Relearning

2. Remove the battery cover, battery duct, battery and battery tray with PCM. Removal and Replacement

3. Disconnect the PCM connector.

4. Remove the PCM from the battery tray.






5. When replacing the PCM on the vehicles, perform the following:

- PCM parameter reset Programming and Relearning

6. Install in the reverse order of removal.