lemon-mirror:
Home >> Mazda >> 2009 >> 3 L4-2.3L >> Repair and Diagnosis >> Powertrain Management >> Computers and Control Systems >> Relays and Modules - Computers and Control Systems >> Engine Control Module >> Service and Repair

Engine Control Module: Service and Repair




PCM REMOVAL/INSTALLATION [LF, L3]

1. When replacing the PCM, perform the following:

- PCM configuration Programming and Relearning

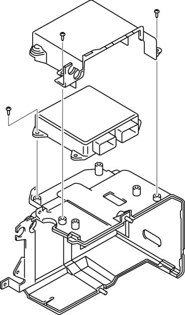
2. Remove the battery cover, battery duct, battery and battery tray with PCM. Removal and Replacement

3. Disconnect the PCM connector.

4. Remove the PCM from the battery tray.






5. When replacing the PCM on the vehicles, perform the following:

- PCM parameter reset Programming and Relearning

6. Install in the reverse order of removal.

PCM Connector Connection Note

CAUTION:
- If the PCM connector is inserted at an angle and the lever is moved, the connector could be damaged. Verify that the PCM connector is inserted straight.






1. Verify that the PCM connector lever is tilted towards the wiring harness side as shown in the figure.






2. Insert the PCM connector straight until it contacts the PCM and verify that the lever reverts upward naturally.

3. Push the lever until a click is heard.