lemon-mirror:
Home >> Mazda >> 2007 >> CX-9 V6-3.5L >> Repair and Diagnosis >> Specifications >> Mechanical Specifications >> Engine >> Oil Pan, Engine

Oil Pan, Engine

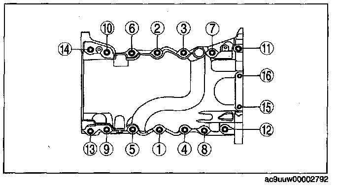
Oil pan





Oil pan bolts to cylinder block

(1) Tighten the bolts in the order shown in the figure.
Tightening torque 3.0 N-m (31 kgf-cm, 27 in-lbf)
(2) Loosen the bolts 180°.





Using a straightedge, align the oil pan flush with the rear of the cylinder block at the two areas as shown.





Tighten the bolts in the order shown in the figure.
Tightening torque
Bolt A: 20-28 N-m (2.1-2.8 kgf-m, 15-20 ft-lbf)
Bolt B: 8.5-11.5 N-m (87-117 kgf-cm, 76-101 in-lbf)