lemon-mirror:
Home >> Mazda >> 2007 >> B4000 V6-4.0L >> Repair and Diagnosis >> Powertrain Management >> Computers and Control Systems >> Camshaft Position Sensor >> Service and Repair

Camshaft Position Sensor: Service and Repair








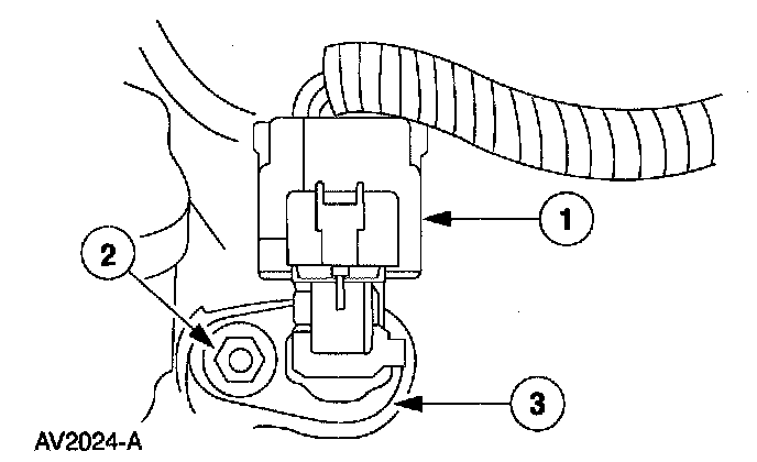
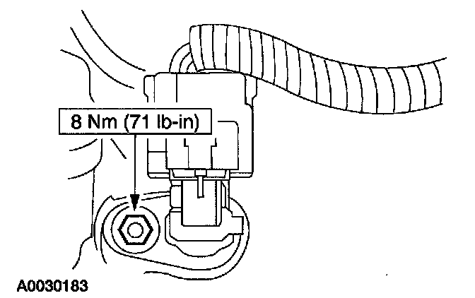
CAMSHAFT POSITION (CMP) SENSOR REMOVAL / INSTALLATION - 4.0L




Removal and Installation
1. Remove the camshaft position (CMP) sensor.
1. Disconnect the electrical connector.
2. Remove the bolt.




3. Remove the sensor.

2. To install, reverse the removal procedure.