lemon-mirror:
Home >> Mazda >> 2007 >> 6 V6-3.0L >> Repair and Diagnosis >> Specifications >> Mechanical Specifications >> Engine >> Intake Manifold

Intake Manifold

INTAKE AIR SYSTEM [AJ]


Intake Manifold Installation Note




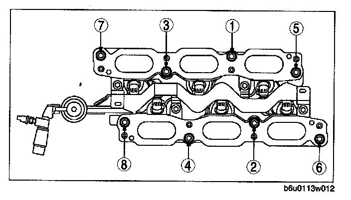
1. Tighten the intake manifold installation bolts in the order indicated.

Tightening torque
6 - 12 Nm {82 - 122 kgf-cm, 72 - 106 in-lbf}


Dynamic Chamber Installation Note




1. Tighten the dynamic chamber installation bolts in the order indicated.

Tightening torque
6 - 12 Nm (82 - 122 kgf-cm, 72 - 106 in-lbf}