lemon-mirror:
Home >> Mazda >> 2007 >> 6 L4-2.3L >> Repair and Diagnosis >> Windows and Glass >> Windows >> Power Window Motor >> Testing and Inspection

Power Window Motor: Testing and Inspection

POWER WINDOW MOTOR INSPECTION

Driver's Side and Passenger's Side
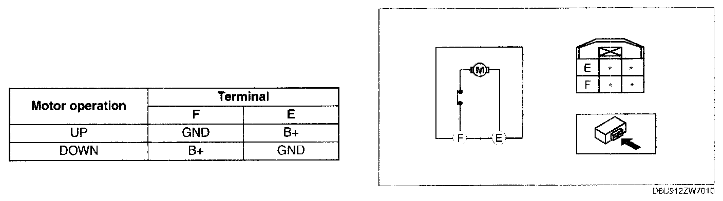
1. Disconnect the power window motor connector.




2. Apply battery positive voltage to the power window motor terminals E and F and inspect the operation the power window motor operation.
- If there is any malfunction, replace the power window motor.

3. Apply battery positive voltage to the power window motor terminal D and connect terminal C to ground.
4. Measure the voltage at terminal B and A while performing Step 3.
- If there is any malfunction, replace the power window motor.

Voltage Pulse wave: MAX.5 V, MIN.0 V

Rear Side




1. Apply battery positive voltage to the power window motor terminals and inspect the power window motor operation.
- If there is any malfunction, replace the power window motor.