lemon-mirror:
Home >> Mazda >> 2007 >> 6 L4-2.3L >> Repair and Diagnosis >> Engine, Cooling and Exhaust >> Engine >> Timing Components >> Timing Chain >> Service and Repair

Timing Chain: Service and Repair

TIMING CHAIN REMOVAL/INSTALLATION [L3]

Warning:
- Fuel vapor is hazardous. It can very easily ignite, causing serious injury and damage. Always keep sparks and flames away from fuel.
- Fuel line spills and leakage are dangerous. Fuel can ignite and cause serious injuries or death and damage. Fuel can also irritate skin and eyes. To prevent this, always complete the "Fuel Line Safety Procedure".


1. Disconnect the negative battery cable.
2. Remove the plug hole plate.
3. Remove the dipstick.
4. Remove the spark plugs.
5. Remove the tire (RH).
6. Remove the under cover,
7. Loosen the water pump pulley bolt and removal the drive belt.
8. Remove the crankshaft position (CKP) sensor.
9. Drain the engine oil.
10. Remove the P/S oil pump with the oil hose still connected and position the P/S oil pump so that it is out of the way.
11. Remove the front drive shaft (RH) from the joint shaft.
12. Remove in the order indicated in the table.
13. Install in the reverse order of removal.
14. Start the engine and:
- Inspect for the engine oil, engine coolant, transaxle oil and fuel leakage.
- Verify the ignition timing, idle speed and idle mixture. (See ENGINE TUNE-UP [L3].) Testing and Inspection
15. Perform a road test.








Crankshaft Pulley Lock Bolt Removal Note
1. Remove the cylinder block lower blind plug.





2. Install the SST.
3. Rotate the crankshaft clockwise until the crankshaft is in the NO cylinder TDC position (until the balance weight is contacting to the SST).





4. Hold the crankshaft pulley using the SSTs.

Chain Tensioner Removal Note
1. Hold the chain tensioner ratchet lock mechanism away from the ratchet stem using a thin screwdriver.
2. Slowly compress the tensioner piston.





3. Hold the tensioner piston using a 1.5 mm (0.059 in) wire or paper clip.

No.3 Engine Mount Rubber and No.3 Engine Joint Bracket Removal Note
1. Install the SST using the following procedure.

Caution:
- Refer to the SST instruction manual for the basic handing procedure.









(1) Install the right rear shaft of the SST to the bolt of the right shock absorber as shown in the figure.
(2) Install the left rear shaft of the SST to the bolt of the left shock absorber. (identical position to the right side)





(3) Install the left/right front shaft of the SST with front foot No.2 to the bolt as shown in the figure.
:If equipped.
(4) Adjust the positions of the SST side bars so that they are the same height (left and right) and horizontal.
(5) Make sure each joint is securely tightened.





2. Support the engine using the SST.

Note:
- The SST (49 E017 5AO) can be used in place of the SST (49 C017 5AO).

3. Remove the No.3 engine mount.

Engine Front Cover Removal Note





1. Remove the oil seal using a screwdriver as shown in the figure.

Oil Pump Sprocket Removal Note





1. Temporarily install the crankshaft pulley and crankshaft pulley lock bolt to the crankshaft, and lock the oil pump against rotation as shown in figure.
2. Remove the oil pump sprocket, and then remove the crankshaft pulley and crankshaft pulley lock bolt.

Oil Pump Sprocket Installation Note





1. Temporarily install the crankshaft pulley and crankshaft pulley lock bolt to the crankshaft, and lock the oil pump against rotation as shown in figure.
2. Install the oil pump sprocket, and then remove the crankshaft pulley and crankshaft pulley lock bolt.

Tightening torque
20 - 30 Nm (2.1 - 3.0 kgf.m, 14.8 - 22.1 ft.lbf)

Timing Chain Installation Note





1. Install the SST to the camshaft as shown in the figure.
2. Install the timing chain.
3. Remove the retaining wire or paper clip from the auto tensioner to apply tension to the timing chain.

Engine Front Cover Installation Note





1. Apply silicone sealant to the engine front cover as shown in the figure.

Caution:
- Install the engine front cover within 10 min of applying the silicone sealant.
- Silicone sealant is not needed in the area indicated by C as shown in the figure as it is a seal.


Thickness
A: 2.0 - 3.0 mm (0.079 - 0.118 in)
B: 1.5 - 2.5 mm (0.059 - 0.098 in)

2. Install the engine front cover bolts in the order as shown in the figure.





Front Oil Seal Installation Note
1. Apply clean engine oil to the oil seal.
2. Push the oil seal slightly in by hand.








3. Compress the oil seal using the SST and a hammer.

No.3 Engine Mount Rubber and No.3 Engine Joint Bracket Installation Note





1. Tighten the stud bolt of the No.3 engine mount bracket.

Tightening torque 7.0 - 13 Nm (71.4 - 132.5 kgf.cm, 62.0 - 115.0 in. lbf)

2. Hand-tighten the No.3 engine mount rubber and No.3 engine joint bracket.





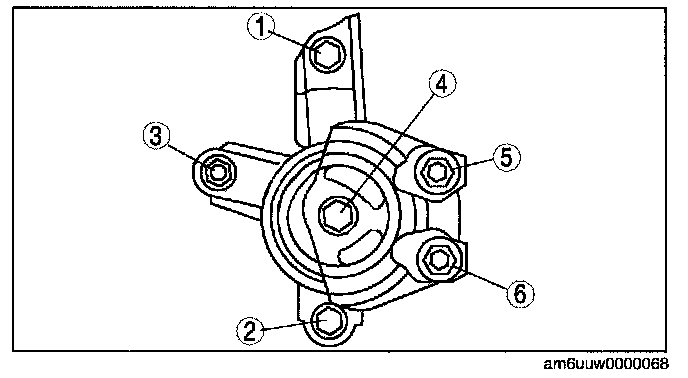
3. Tighten the bolts and nuts in the order shown in the figure.

Crankshaft Pulley Lock Bolt Installation Note





1. Install the SST to the camshaft as shown in the figure.





2. Install the M6 x 1.0 bolt in by hand.
3. Rotate the crankshaft clockwise until the crankshaft is in the No.1 cylinder TDC position (until the balance weight is contacting to the SST).





4. Hold the crankshaft pulley using the SST.
5. Tighten the crankshaft pulley lock bolt in the following two steps using the SST (49 D032 316).
(1) Tighten to 96 - 104 Nm (9.8 - 10.6 kgf.m, 70.9 - 76.7 ft.lbf)
(2) Tighten 87° - 93°

6. Remove the M6 x 1.0 bolt.
7. Remove the SST from the camshaft.
8. Remove the SST from the cylinder block lower blind plug.
9. Rotate the crankshaft two times clockwise until the crankshaft is in the TDC position, reinstall the SSTs to the camshaft and cylinder block, and inspect the valve timing. If not aligned, loosen the crankshaft pulley lock bolt and repeat from Step 1.





10. Install the cylinder block lower blind plug.

Tightening torque
18 - 22 Nm (1.9 - 2.2 kgf.m, 13.3 - 16.2 ft. lbf)

Cylinder Head Cover Installation Note





1. Apply silicone sealant to the mating faces as shown in the figure.

Caution:
- Install the cylinder head cover within 10 min of applying the silicone sealant.


Thickness
4.0 - 6.0 mm (0.16 - 0.23 in)

2. Install the cylinder head cover with a new gasket.





3. Tighten the bolts in the order shown in the figure.

Tightening torque
8.0 - 9.5 Nm (82 - 96 kgf.cm, 71 - 84 in. lbf)