lemon-mirror:
Home >> Mazda >> 2006 >> 6 V6-3.0L DOHC >> Repair and Diagnosis >> Specifications >> Mechanical Specifications >> Engine >> System Specifications >> Torque Specifications

Torque Specifications

Cylinder Head








Tighten the cylinder head bolts in the order shown using the following 6 steps.
1)Tighten to 32 - 38 Nm (3.3 - 3.8 kgf-m, 24 - 28 ft. lbs.)
2)Tighten 85° - 95°
3)Loosen 360° (one full turn) in reverse order.
4)Tighten to 32 - 38 Nm (3.3 - 3.8 kgf-m, 24 - 28 ft. lbs.)
5)Tighten 85° - 90°
6)Tighten 85° - 95°

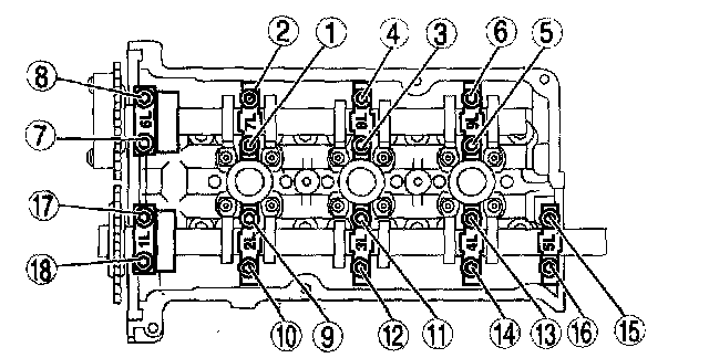
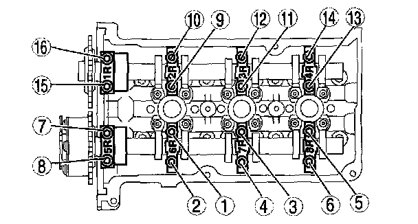
Camshaft Bearing Caps











Tighten the bearing caps evenly in the order shown in several passes

Crankshaft Pulley Lock Bolt
Tighten the new crankshaft pulley lock bolt in four steps.
1)Tighten to 120 Nm 12.2 kgf-m, 88.5 ft. lbs.)
2)Loosen 360° (one full turn) in reverse order
3)Tighten to 47 - 53 Nm (4.8 - 5.4 kgf-m, 35 - 39ft.lbs.)
4)Tighten 85° - 95°