lemon-mirror:
Home >> Mazda >> 2005 >> Tribute 2WD L4-2.3L >> Repair and Diagnosis >> Specifications >> Mechanical Specifications >> Engine >> Oil Pan, Engine

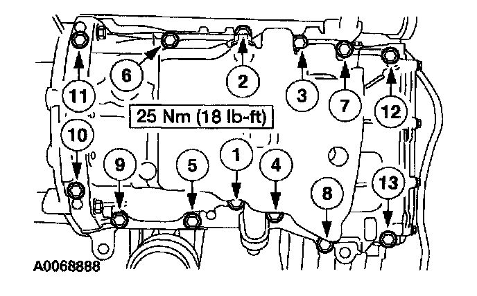
Oil Pan, Engine





Oil Pan