lemon-mirror:
Home >> Mazda >> 2005 >> MPV V6-3.0L DOHC >> Repair and Diagnosis >> Specifications >> Mechanical Specifications >> Engine >> System Specifications >> Torque and Sequence

Torque and Sequence

Bearing Caps





Tighten the bearing caps evenly in the order shown in several passes.

Note:
After adjusting the camshaft end play using the thrust caps 1L and 5L, tighten the other bearing caps.

Crankshaft Pulley Lock Bolt Installation Note





1. Hold the crankshaft pulley using the SSTs.
2. Tighten the new crankshaft pulley lock bolt in four steps.
1. Tighten to 120 Nm (12.2 kgf-cm, 88.5 ft. lbs.).
2. Loosen 360° (one full turn) in reverse order.
3. Tighten to 47 - 53 Nm (4.8 - 5.4 kgf-cm, 35 - 39 ft. lbs.).
4. Tighten 85° - 95°.

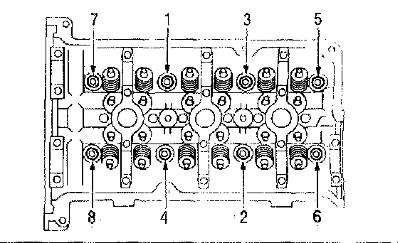
Cylinder Head (LH) Installation Note





1. Tighten the cylinder head bolts in the order shown using the following 6 steps.
1. Tighten to 32 - 38 Nm (3.3 - 3.8 kgf-cm, 24 - 28 ft. lbs.).
2. Tighten 85° - 95°.
3. Loosen 360° (one full turn) in reverse order.
4. Tighten to 32 - 38 Nm (3.3 - 3.8 kgf-cm, 24 - 28 ft. lbs.).
5. Tighten 85° - 95°.
6. Tighten 85° - 95°.

Cylinder Head (RH) Installation Note





1. Tighten the cylinder head bolts in the order shown using the following 6 steps.
1. Tighten to 32 - 38 Nm (3.3 - 3.8 kgf-cm, 24 - 28 ft. lbs.).
2. Tighten 85° - 95°.
3. Loosen 360° (one full turn) in reverse order.
4. Tighten to 32 - 38 Nm (3.3 - 3.8 kgf-cm, 24 - 28 ft. lbs.).
5. Tighten 85° - 95°.
6. Tighten 85° - 95°.

Crankshaft Pulley Lock Bolt Installation Note (LH)





1. Hold the crankshaft pulley using the SSTs.
2. Tighten the new crankshaft pulley lock bolt in four steps.
1. Tighten to 120 Nm (12.2 kgf-cm, 88.5 ft. lbs.).
2. Loosen 360° (one full turn) in reverse order.
3. Tighten to 47 - 53 Nm (4.8 - 5.4 kgf-cm, 35 - 39 ft. lbs.).
4. Tighten 85° - 95°.
3. Install the A/C compressor.

Crankshaft Pulley Lock Bolt Installation Note (RH)





1. Hold the crankshaft pulley using the SSTs.
2. Tighten the new crankshaft pulley lock bolt in four steps.
1. Tighten to 120 Nm (12.2 kgf-cm, 88.5 ft. lbs.).
2. Loosen 360° (one full turn) in reverse order.
3. Tighten to 47 - 53 Nm (4.8 - 5.4 kgf-cm, 35 - 39 ft. lbs.).
4. Tighten 85° - 95°.

Cylinder Head Cover (LH) Installation Note





Tighten the bolts in the order shown.

Timing Chain





Install the timing chain (LH) in the following order.
Timing chain crankshaft sprocket
Chain guide
Timing chain
Tensioner arm





Note:
If timing marks in the timing chains are not evident, use a permanent-type marker to mark the crankshaft and camshaft timing marks on the timing chain.

Engine Front Cover Installation Note





Install the remaining bolts and studs, and then tighten all bolts and studs in the order shown.