lemon-mirror:
Home >> Mazda >> 2005 >> MPV V6-3.0L DOHC >> Repair and Diagnosis >> Heating and Air Conditioning >> Control Assembly >> Service and Repair >> Front Climate Control Unit >> Disassembly and Assembly

Disassembly and Assembly

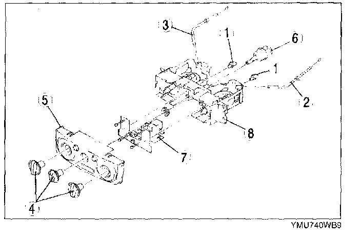
FRONT CLIMATE CONTROL UNIT DISASSEMBLY/ASSEMBLY







1. Disassemble in the order indicated in the table.
2. Assemble in the reverse order of disassembly.

Wire Disassembly Note:




1. Disassemble the wires in the order shown.