lemon-mirror:
Home >> Mazda >> 2004 >> B2300 L4-2.3L VIN D >> Repair and Diagnosis >> Specifications >> Mechanical Specifications >> Engine >> Timing Components >> Timing Cover

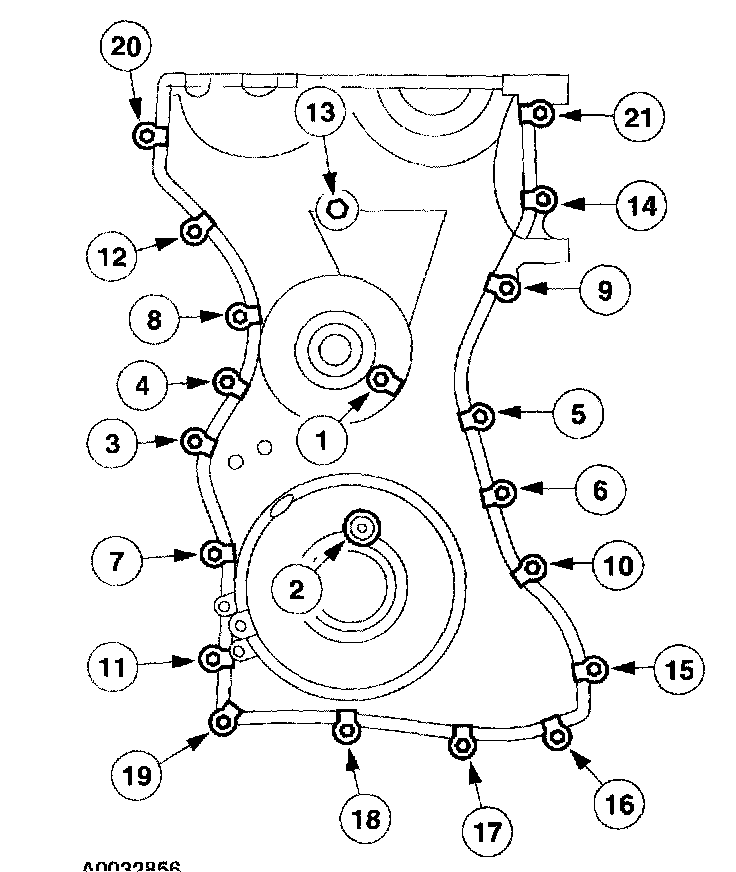
Timing Cover


Timing Cover Torque & Sequence





Note:
^ This step is needed only if a new front cover is being installed.

1. Install the fan drive pulley using a nut and bolt with flat washers.
2. Clean and inspect the mounting surfaces of the engine and the front cover.

Caution:
^ Do not use metal scrapers, wire brushes, power abrasive discs or other abrasive means to clean the sealing surfaces These tools cause scratches and gouges which make leak paths.

Note:
^ The engine front cover must be installed and the bolts tightened within four minutes of applying the silicone gasket and sealant.





3. Apply a 2.5 mm bead of silicone gasket and sealant to the cylinder head and oil pan joint areas. Apply a 2.5 mm bead of silicone gasket and sealant to the front cover.





4. Install the front cover Tighten the bolts in the sequence, to the following specifications: Tighten the 8 mm bolts to 10 Nm (1 kgf-cm, 7 lbs.).
^ Tighten the 10 mm bolts to 25 Nm (2.5 kgf-cm, 18 lbs.).
^ Tighten the 13 mm bolts to 48 Nm (4.889 kgf-cm, 35 lbs.).