lemon-mirror:
Home >> Mazda >> 2003 >> 6 L4-2.3L >> Repair and Diagnosis >> Powertrain Management >> Ignition System >> Ignition Coil >> Testing and Inspection

Ignition Coil: Testing and Inspection

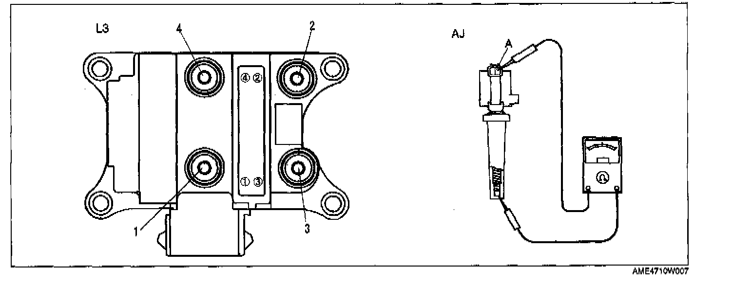
IGNITION COIL INSPECTION

Primary Coil Winding

1. Disconnect the ignition coil connector.




2. Measure the resistance between the following terminals using an ohmmeter:

- L3: A and B, B and C
- AJ: A and B

- If not as specified, replace the ignition coil.

Specification: 0.49 - 0.57 ohms [20°C {68°F}]

Secondary Coil Winding

1. Disconnect the ignition coil connector.
2. Remove the ignition coil.




3. Measure the resistance between the following using an ohmmeter.

- L3: Lead hole 1 to 4, 2 to 3
- AJ: Terminal A to coil boot socket

- If not as specified, replace the ignition coil.

Specification: 9.5 - 11.1 kiloohms [20°C {68°F}]

Insulation Resistance of Case




1. Remove the high-tension lead. (L3 engine model)
2. Disconnect the ignition coil connector.
3. Measure the insulation resistance from terminal B (L3 engine model), terminal A (AJ engine model) to ignition coil case using an ohmmeter.
- If not as specified, replace the ignition coil.

Specification: Above 10 megohms