lemon-mirror:
Home >> Mazda >> 2002 >> Tribute DX 2WD L4-2.0L >> Repair and Diagnosis >> Maintenance >> Alignment >> Service and Repair >> Front Wheel Alignment

Front Wheel Alignment

CAMBER AND CASTER ADJUSTMENT





1. Raise and support the vehicle.





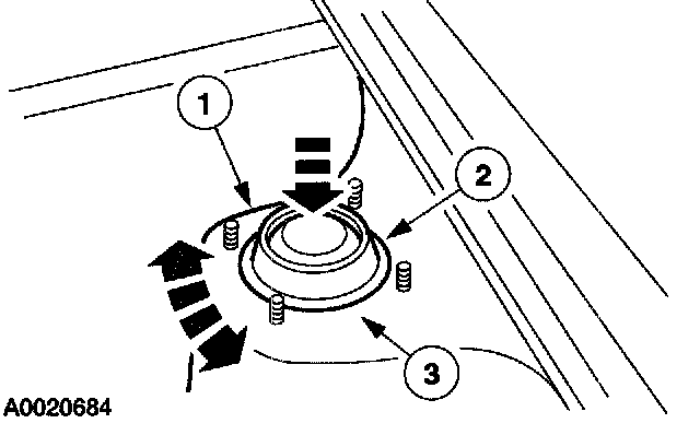
2. Remove the front shock absorber upper mounting bracket nuts.






3. Push the front shock absorber upper mounting bracket downward and turn it to the desired position to set camber and caster. Both camber and caster for front suspension are adjustable within a maximum of 30 degree angle.
4. Tighten the front shock absorber upper mounting bracket nuts.