lemon-mirror:
Home >> Mazda >> 2002 >> Tribute DX 2WD L4-2.0L >> Repair and Diagnosis >> Maintenance >> Alignment >> Description and Operation >> Toe

Toe

Toe





1 of 2





2 of 2

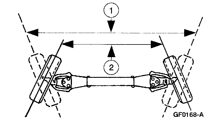
Toe is a measurement of how much the front of the wheels are turned in or out from the straight-ahead position.
When the wheels are turned in toward the front of the vehicle, toe is positive (+) (toe in). When the wheels are turned out toward the front of the vehicle, toe is negative (-) (toe out). Toe is measured in degrees from side to side, and totaled.