lemon-mirror:
Home >> Mazda >> 2002 >> Tribute DX 2WD L4-2.0L >> Repair and Diagnosis >> Heating and Air Conditioning >> Control Assembly >> Service and Repair >> Temperature Control Switch

Temperature Control Switch

TEMPERATURE CONTROL SWITCH

Removal and Installation

1. Remove the instrument panel center finish panel.




2. Remove the temperature control switch knob.




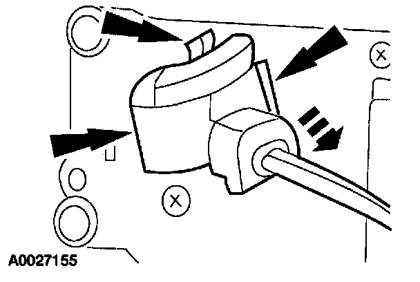
3. Depress the three tabs and remove the temperature blend door control cable




4. Remove the temperature control switch.
1. Remove the screw.
2. Depress the tab and rotate the temperature control switch counterclockwise.

NOTE: Rotate the gear to align the locking tab with the notch in the gear before installing.




5. To install, reverse the removal procedure.