lemon-mirror:
Home >> Mazda >> 2002 >> 626 ES V6-2.5L DOHC >> Repair and Diagnosis >> Powertrain Management >> Computers and Control Systems >> Throttle Position Sensor >> Testing and Inspection

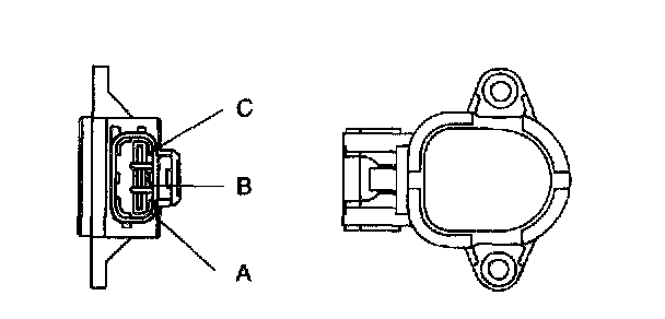
Throttle Position Sensor: Testing and Inspection

Inspection of Resistance

1. Disconnect the battery negative cable.
2. Disconnect the throttle position sensor connector.




3. Using an ohmmeter, measure the resistance between throttle position sensor terminal A and B.
- If not as specified, replace the throttle position sensor.

Specification: 2.5 - 5.0 kilOhms

4. Reconnect the throttle position sensor connector.

Inspection of Output Voltage

1. Disconnect the PCM connector.




2. Connect the SST (104 Pin Breakout Box) to the PCM as shown.
3. Tighten the connector attaching screws.

Tightening torque: 7.9 - 10.7 N.m {80 - 100 kgf.cm, 69.5 - 95.4 in.lbf}

4. Verify that the throttle valve is at the closed throttle position.
5. Turn the ignition switch to ON.
6. Measure the PCM terminal 89 voltage using a voltmeter.
- If not as specified, adjust the throttle position sensor.

Specification:
Closed throttle position: 0.3 - 1.0 V
Wide open throttle: 2.8 - 4.5 V (verify that the voltage increase is directly proportioned to the throttle valve opening angle.)