lemon-mirror:
Home >> Mazda >> 2000 >> MPV DX V6-2.5L DOHC >> Repair and Diagnosis >> Powertrain Management >> Computers and Control Systems >> Transmission Position Sensor/Switch >> Service and Repair

Transmission Position Sensor/Switch: Service and Repair

TRANSAXLE RANGE (TR) SWITCH REMOVAL/INSTALLATION
1. Disconnect the negative battery cable.
2. Remove the battery, battery tray, and battery carrier.
3. Disconnect the TR switch connector.





4. Remove the spring and disconnect the selector cable.

Note Do not reuse the clip when any of the hooks are deformed.

Caution: Do not use an impact wrench. Hold the manual shaft lever when removing the manual shaft nut, or the transaxle may be damaged.





5. Set the adjustable wrench as shown to hold the manual shaft lever.
6. Remove the manual shaft nut and washer.
7. Remove the manual shaft lever.
8. Remove the TR switch.





9. Rotate the manual shaft to the rear side of the vehicle fully, then return 2 notches to set the N position.





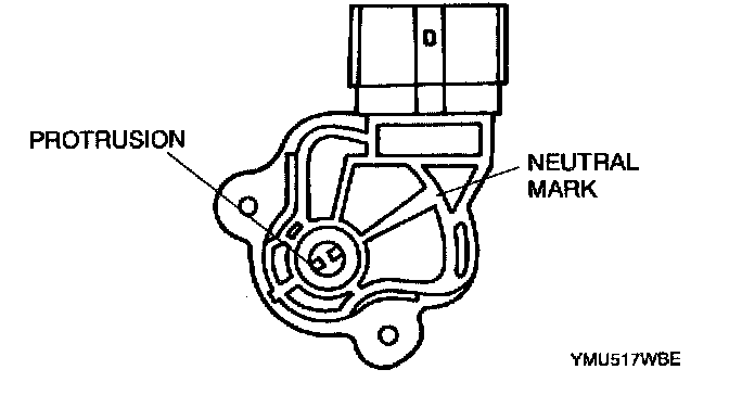
10. Align the protrusion and neutral mark as shown.





11. Install the TR switch while aligning the protrusion and groove as shown.





12. Turn the TR switch so that the neutral mark is in line with the flat, straight surfaces on either side of the manual shaft.
13. Hand-tighten the TR switch bolts.
14. Perform the TR switch adjustment.
15. Install the manual shaft lever and washer.

Caution: Do not use an impact wrench. Hold the manual shaft lever when tightening the manual shaft nut, or the transaxle may be damaged.

16. Set the adjustable wrench as shown to hold the manual shaft lever.





17. Tighten the manual shaft nut using a torque wrench.
Tightening torque
32 - 46 Nm (3.2 - 4.7 kgf.m, 24 - 33 ft. lbs.)





18. Install the spring as shown in the figure.





19. Verify that the selector lever range position and TR switch are aligned, then connect the selector cable.
20. Inspect for continuity at the TR switch.
21. Connect the TR switch connector.
22. Install the battery carrier, battery tray, and battery.
23. Connect the negative battery cable.
24. Inspect operation of the TR switch.