lemon-mirror:
Home >> Mazda >> 2000 >> 626 ES V6-2.5L DOHC >> Repair and Diagnosis >> Powertrain Management >> Relays and Modules - Powertrain Management >> Relays and Modules - Computers and Control Systems >> Engine Control Module >> Testing and Inspection >> Control Module Pin Test Procedures

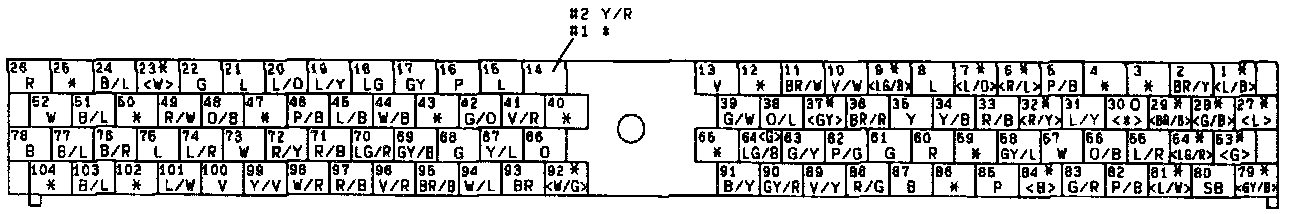
Control Module Pin Test Procedures










Terminals 1-19




Terminals 20-34




Terminals 35-51




Terminals 52-65




Terminals 66-85




Terminals 86-99




Terminals 100-104