lemon-mirror:
Home >> Mazda >> 2000 >> 626 ES V6-2.5L DOHC >> Repair and Diagnosis >> Powertrain Management >> Computers and Control Systems >> Throttle Position Sensor >> Testing and Inspection >> Component Inspection

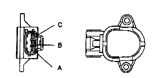
Component Inspection

1. Disconnect the battery negative cable.
2. Disconnect the throttle position sensor connector.




3. Using an ohmmeter, measure the resistance between throttle position sensor terminal A and B.
- If not as specified, replace the throttle position sensor.

Specification : 2.5 - 5.0 kohms


4. Reconnect the throttle position sensor connector.