lemon-mirror:
Home >> Mazda >> 1995 >> RX7 2RTR-1308cc 80 >> Repair and Diagnosis >> Powertrain Management >> Computers and Control Systems >> Locations

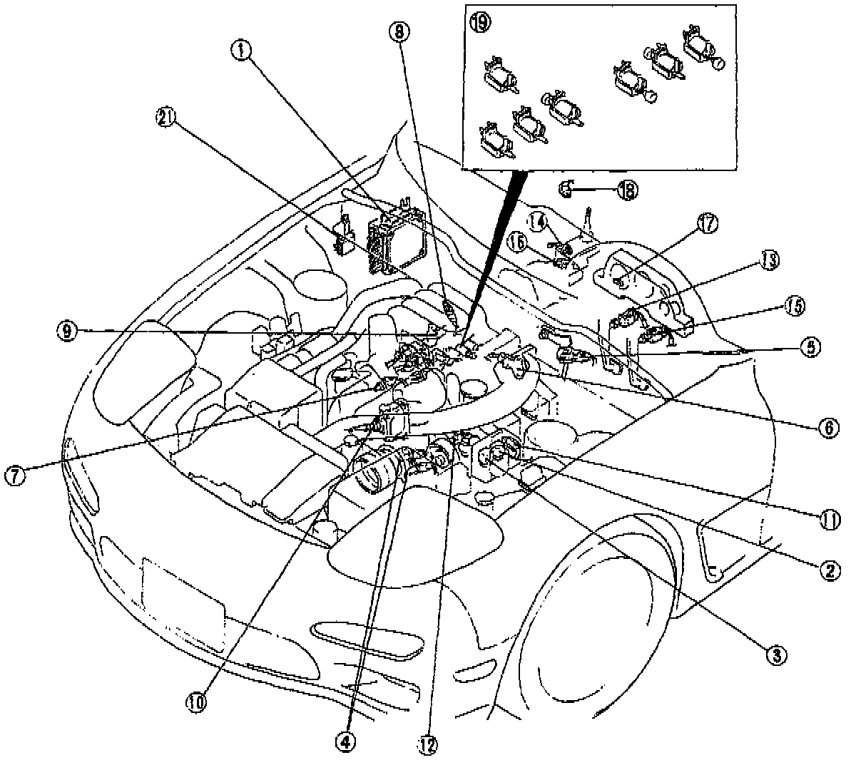
Computers and Control Systems: Locations





1. Engine control module (ECM)
2. Main relay
3. Fuel pump relay
4. Crankshaft position sensor
5. Manifold absolute pressure sensor
6. Throttle position sensor
7. Engine coolant temperature sensor
8. Intake air temperature sensor
9. Fuel thermosensor
10. Oxygen sensor
11. Knock sensor
12. Power steering pressure switch
13. Stoplight switch
14. Neutral switch (MT)
15. Clutch switch (MT)
16. 1-2 switch (MT)
17. Mileage switch
18. Heat hazard sensor
19. Solenoid valves