lemon-mirror:
Home >> Mazda >> 1990 >> 323 L4-1600 1597cc >> Repair and Diagnosis >> Powertrain Management >> Computers and Control Systems >> Main Relay (Computer/Fuel System) >> Testing and Inspection

Main Relay (Computer/Fuel System): Testing and Inspection

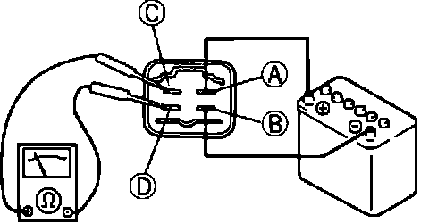
Main Relay Testing:






1. Verify that relay "clicks" when ignition is switched "ON" and "OFF."
2. Unplug relay connector. Check that there is no continuity across terminals "C" and "D."
3. Apply 12V to relay terminal "A" and ground terminal "B."
4. Check that continuity now exists across terminals "C" and "D."
5. If not as specified, replace relay.