lemon-mirror:
Home >> Mazda >> 1987 >> 323 L4-1600 1597cc >> Repair and Diagnosis >> Specifications >> Mechanical Specifications >> Engine >> System Specifications >> Torque Specifications

Torque Specifications

Torque Chart:






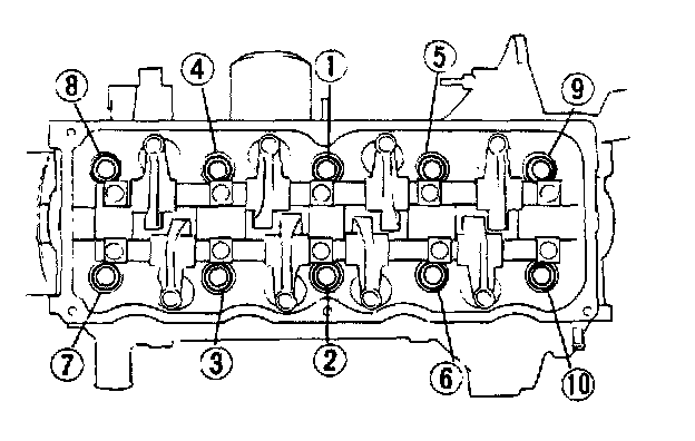
Cylinder Head Installation:






Gradually torque the cylinder head bolts in the order shown to 75-81 Nm (56-60 ft lb)



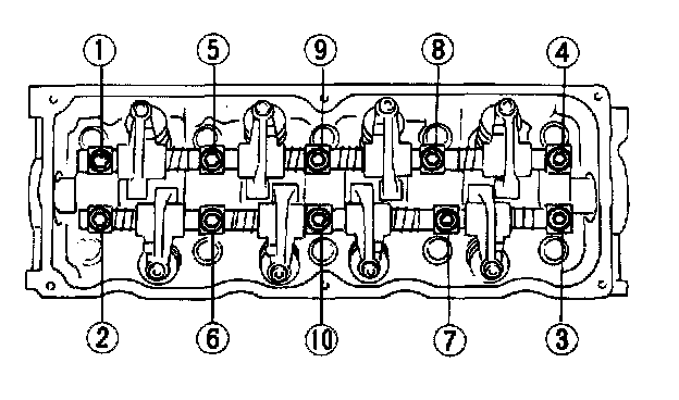
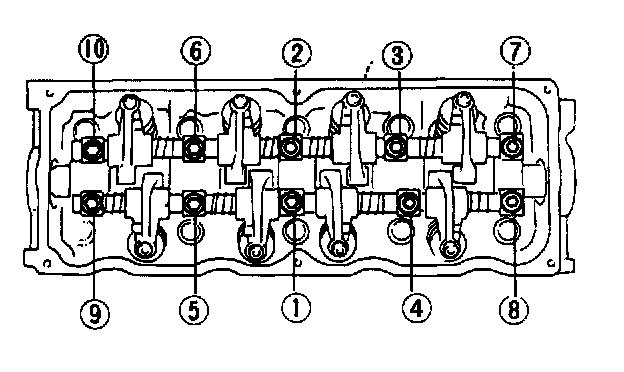
Camshaft/Rocker Arm Removal:






Camshaft/Rocker Arm Installation:






Torque Chart:






Torque Chart:






Torque Chart:






Torque Chart:






Torque Chart: