lemon-mirror:
Home >> Lincoln >> 2012 >> MKZ FWD V6-3.5L >> Repair and Diagnosis >> Maintenance >> Alignment >> Specifications >> Ride Height Measurement

Ride Height Measurement




Ride Height Measurement

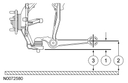
Front Ride Height Measurement










Rear Ride Height Measurement