lemon-mirror:
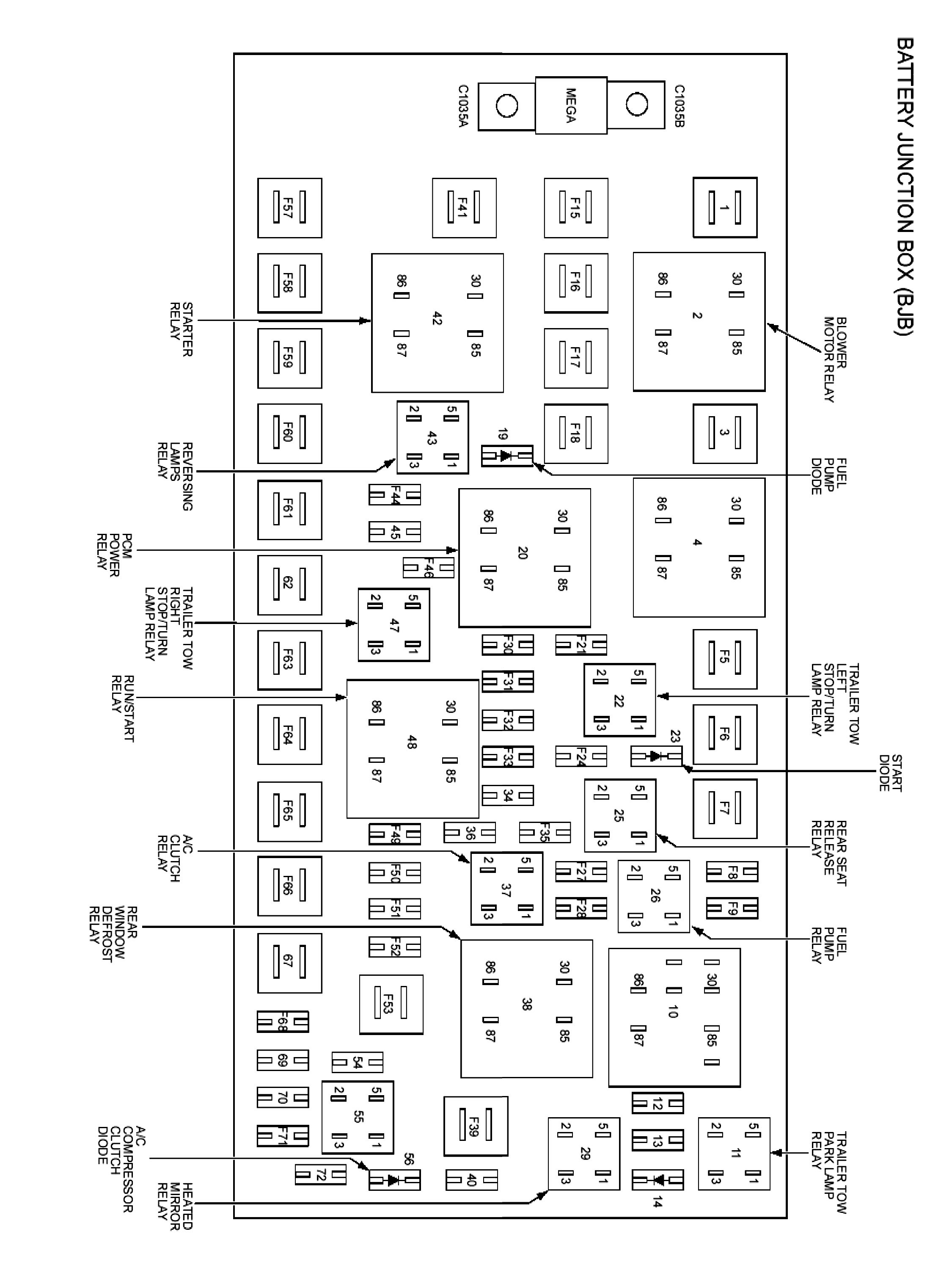
Home >> Lincoln >> 2008 >> MKX FWD V6-3.5L >> Repair and Diagnosis >> Powertrain Management >> Computers and Control Systems >> Main Relay (Computer/Fuel System) >> Locations

Main Relay (Computer/Fuel System): Locations